EasyManua.ls Logo

Renesas PG-FP6 V1.06 - 11.12 R8 C; RX100, RX200, Rx65 X, and RX66 T (FINE Communications)

Renesas PG-FP6 V1.06
188 pages
To Next Page IconTo Next Page
To Next Page IconTo Next Page
To Previous Page IconTo Previous Page
To Previous Page IconTo Previous Page
Loading...
PG-FP6 V1.06 11. Examples of Connections with Microcontrollers
R20UT4469EJ0800 Rev.8.00 Page 147 of 188
Oct.01.21
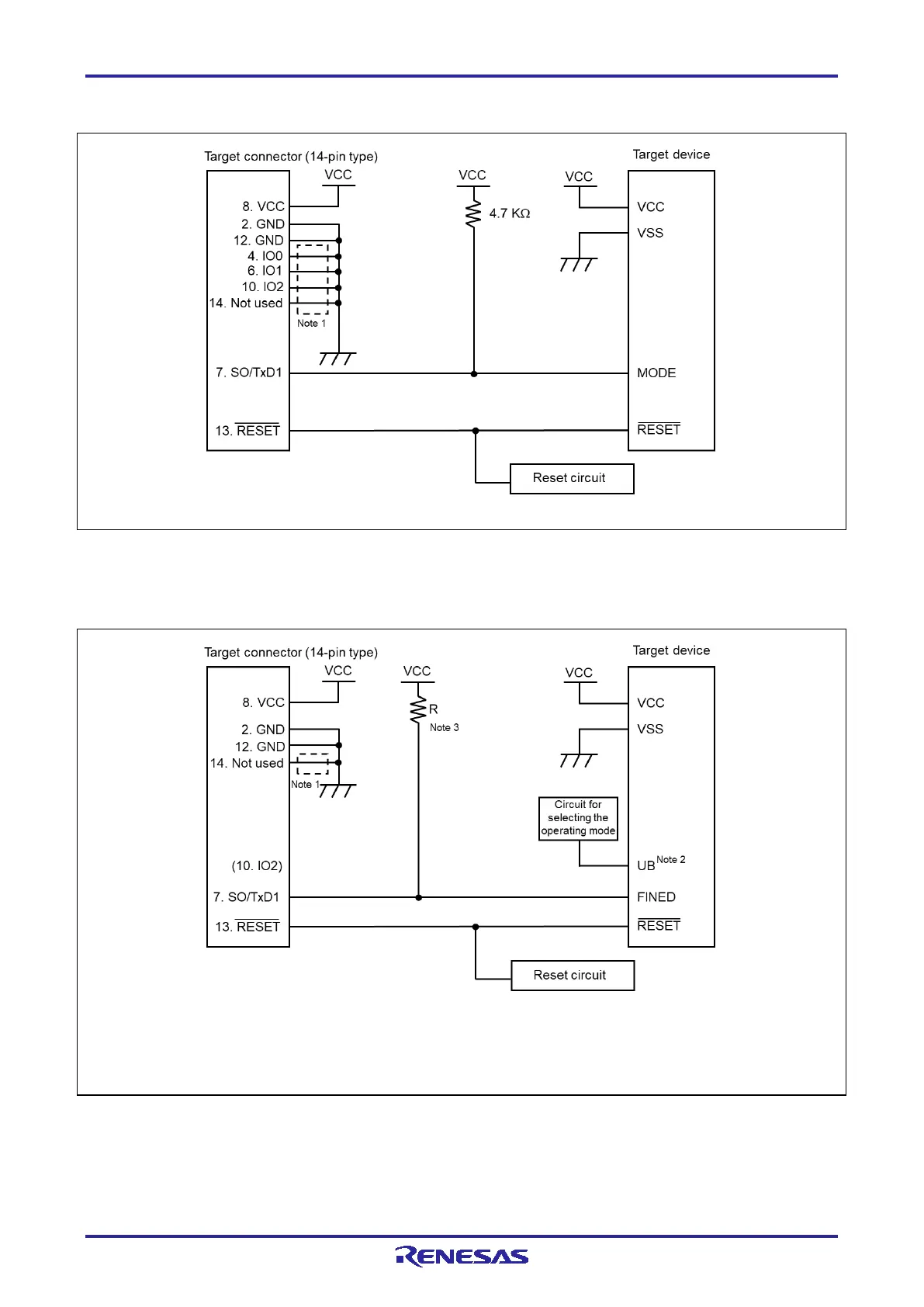
11.12 R8C
Note: These pins do not need to be short-circuited unless the FP6 is used with the E1, E20, or E8a.
Figure 11.12 Example of a Circuit for R8C Family
11.13 RX (FINE communications)
Notes: 1. These pins do not need to be short-circuited unless the FP6 is used with the E1, E20, E2, or E2 Lite.
2. The UB pin controls entry to the user boot mode. Set up the UB pin to select the boot mode (SCI) or connect
the pin to IO2 of the target connector.
3. The value of the resistor should be 4.7 K or more when the FP6 is used with the E1, E20, E2, or E2 Lite.
Figure 11.13 Example of a Circuit for RX Family (FINE)

Table of Contents

Related product manuals