EasyManua.ls Logo

Schweitzer Engineering Laboratories SEL-311C - Figure 4.4 Migration of Apparent Positive-Sequence Impedance for a Fault Condition; Use SEL-321 Relay Application Guide for the SEL-311 C

Schweitzer Engineering Laboratories SEL-311C
748 pages
Print Icon
To Next Page IconTo Next Page
To Next Page IconTo Next Page
To Previous Page IconTo Previous Page
To Previous Page IconTo Previous Page
Loading...
4.8
SEL-311C Relay Instruction Manual Date Code 20060320
Loss-of-Potential, CCVT Transient Detection, Load-Encroachment, and Directional Element Logic
Load-Encroachment Logic
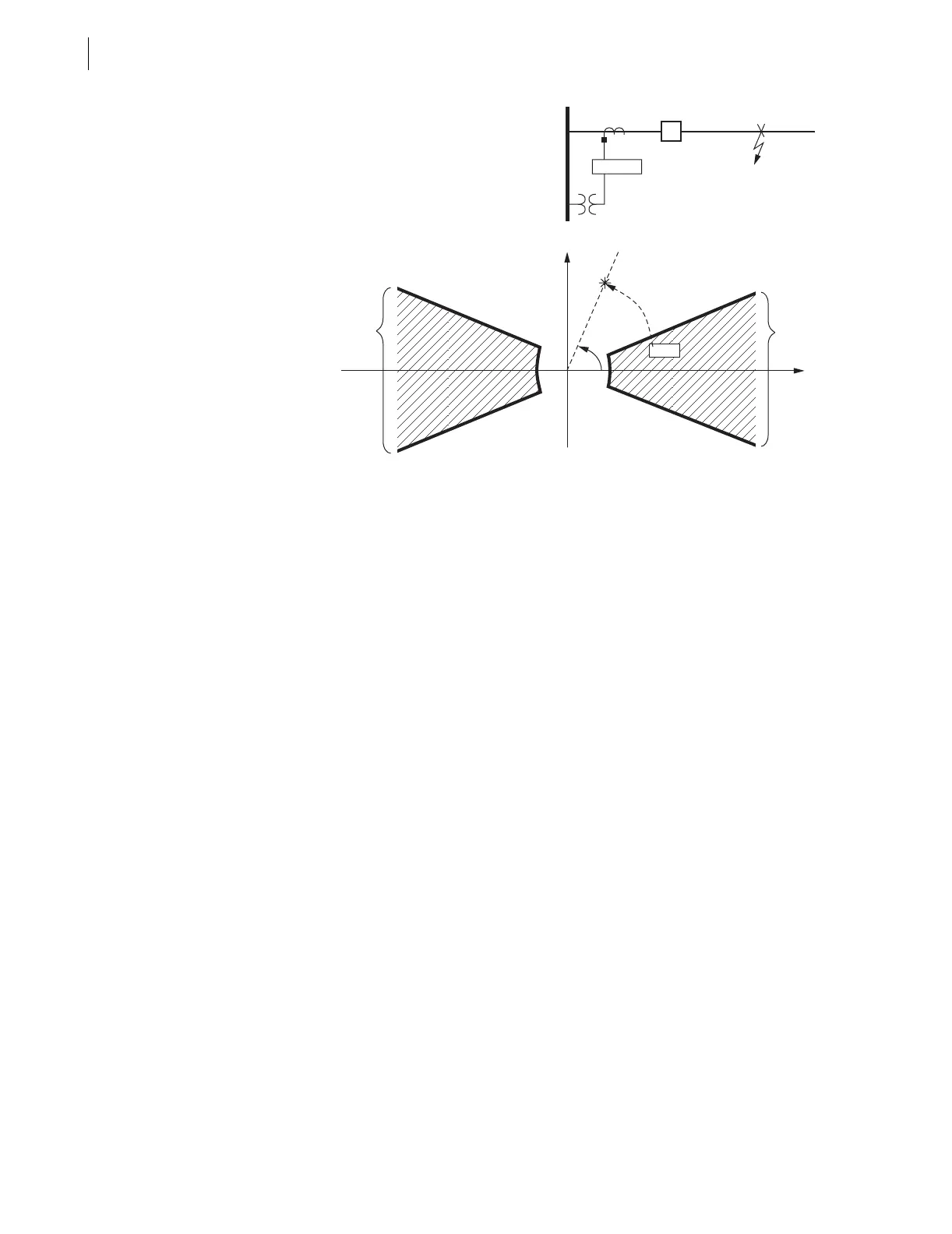
Figure 4.4 Migration of Apparent Positive-Sequence Impedance for a Fault
Condition
Refer to Figure 4.4. In a load condition, the apparent positive-sequence
impedance is within the ZLOUT area, resulting in:
ZLOAD = ZLOUT + ZLIN = logical 1 + ZLIN = logical 1
If a three-phase fault occurs, the apparent positive-sequence impedance moves
outside the ZLOUT area (and stays outside the ZLIN area, too), resulting in:
ZLOAD = ZLOUT + ZLIN = logical 0 + logical 0 = logical 0
Refer to Figure 3.22. To prevent phase time-overcurrent element 51PT from
operating for high load conditions, make the following SEL
OGIC control
equation torque control setting:
51PTC = !ZLOAD
For a load condition (ZLOAD = logical 1), phase time-overcurrent element
51PT cannot operate with this torque control setting (regardless of the phase
current level):
51PTC = !(logical 1) = NOT(logical 1) = logical 0
For a fault condition (ZLOAD = logical 0), phase time-overcurrent element
51PT can operate:
51PTC = !ZLOAD = !(logical 0) = NOT(logical 0) = logical 1
Use SEL-321 Relay
Application Guide
for the SEL-311C
The load-encroachment logic and settings in the SEL-311C are the same as
those in the SEL-321. Refer to Application Guide 93-10: SEL-321 Relay
Load-Encroachment Function Setting Guidelines for applying the load-
encroachment logic in the SEL-311C.
X
1
Line Angle
Fault
52
Line
3-Phase Fault
R
1
ZLOUT
(Load Out
Region)
ZLIN
(Load In
Region)
SEL-311C
*
Load

Table of Contents

Related product manuals