EasyManua.ls Logo

Schweitzer Engineering Laboratories SEL-311C - Figure 11.2 SEL-311 C Front-Panel Pushbuttons-Primary Functions

Schweitzer Engineering Laboratories SEL-311C
748 pages
Print Icon
To Next Page IconTo Next Page
To Next Page IconTo Next Page
To Previous Page IconTo Previous Page
To Previous Page IconTo Previous Page
Loading...
11.3
Date Code 20060320 Instruction Manual SEL-311C Relay
Front-Panel Interface (Only on Models With LCD)
Front-Panel Pushbutton Operation
q Front-panel pushbutton functions that correspond to Access Level 1 serial port
commands do not require the entry of the Access Level 1 password through the
front panel.
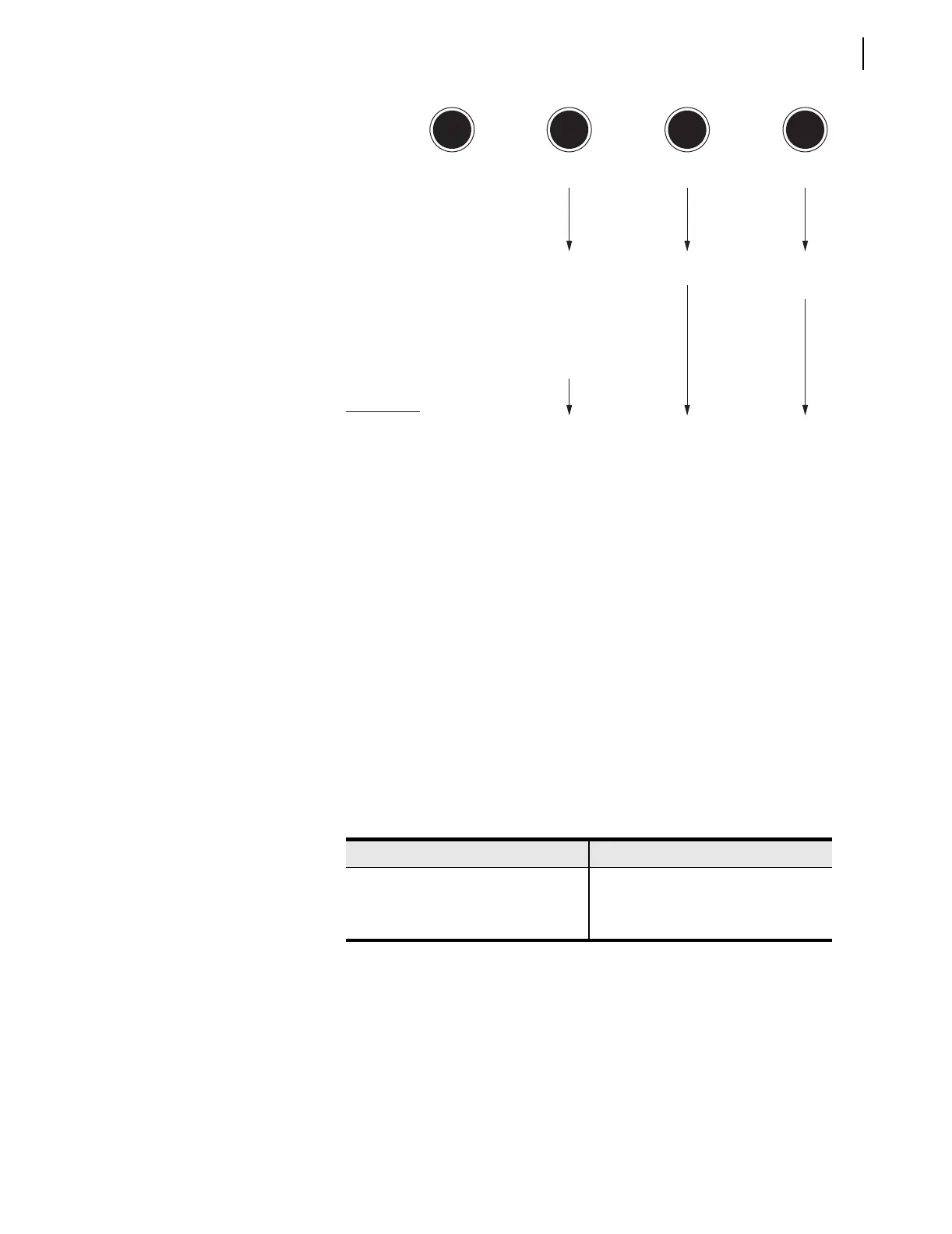
Figure 11.2 SEL-311C Front-Panel Pushbuttons—Primary Functions
Front-Panel Password Security
Refer to the comments at the bottom of Figure 11.3 concerning Access
Level B and Access Level 2 passwords. See PAS Command (View/Change
Passwords) on page 10.38 for more information on passwords.
To enter the Access Level B and Access Level 2 passwords from the front
panel (if required), use the left/right arrow pushbuttons to underscore a
password digit position. Then use the up/down arrow pushbuttons to change
the digit. Press the {SELECT} pushbutton once the correct Access Level B or
Access Level 2 password is ready to enter.
The factory-default passwords for Access Level 1, B, and 2 are:
METER EVENTS STATUS
Corresponding
Serial Port
Commands at:
Access Level 1
q
STAHIS
View
Self-Test
Status
View Event
Summaries
Function
Description
View Instantaneous,
Max./Min., and
Demand Metering
Values.
Reset, Max./Min. and
Demand Metering
Values.
MET
MET D
MET M
MET E
MET RD
MET RM
MET RE
MET RP
LAMP
TEST
TARGET
RESET
Access Level Factory Defaul t Password
1 OTTER
BEDITH
2TAIL

Table of Contents

Related product manuals