EasyManua.ls Logo

Shibaura ST330 - Power Steering Control Valve

Default Icon
250 pages
Print Icon
To Next Page IconTo Next Page
To Next Page IconTo Next Page
To Previous Page IconTo Previous Page
To Previous Page IconTo Previous Page
Loading...
152
3. POWER STEERING CONTROL VALVE
The power steering control valve internal parts are not supplied, and then usually replace the power steering
control valve as an assembly when it is defective.
1Adjustment
Inspection and adjustment of relief valve
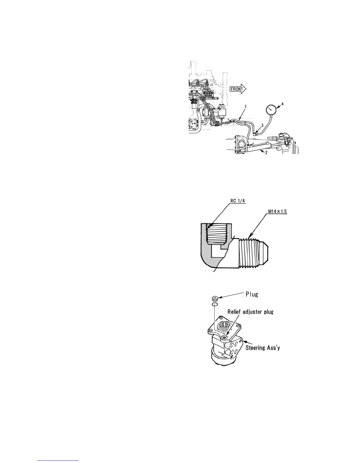
1. With the tractor engine stopped, disconnect one
of the hydraulic lines that run to the steering
cylinder.
2. Connect a fitting, 3, and a 020 MPa (200kgf/c
) pressure gauge, 4, to the end of the line ,1,
from the steering motor and cap the line leading
to the steering cylinder, 2.
3. Start the tractor engine, and allow it to idle.
Observe the pressure gauge, it should indicate
0 MPa
4. Turn the steering wheel so that the line which
the gauge is connected to receives steering pump
fluid pressure intended for the steering cylinder.
For example, if the gauge is connected to the left
side of the cylinder, as viewed from the
operators seat, turn the wheel to the left.
Observe the gauge and the following
Test Results
If the pressure gauge reading rises before the
steering wheel is turned, it indicates that the
steering motor will defective.
If the pressure gauge reading to the relief valve
setting of 10.3 MPa (105 kgf/c ), when the
steering wheel is turned, the steering pump
relief valve is working properly.
If the pressure gauge reading is below the relief
valve setting, it may indicate that the relief
valve is not working properly, or the pump parts
are worn.
5. Stop the tractor engine.
6. Remove the power steering control valve from
the steering column to adjust the relief valve
pressure.
NOTE:
The steering system relief valve is located on the top
side of the steering motor.
Rotate the relief valve
adjuster plug clockwise to increase the pressure and
counterclockwise to decrease the pressure, Figure
460Y.
The relief pressure changed about 1.0~1.3 MPa
(10~13 kgf/c ) with one turn of the relief valve
adjuster plug.
458Y
Fitting
459Y
460Y
1. Steering Motor to Steering Cylinder Line
2. Steering cylinder
3. FittingPart No.340671510
4. 020MPa(200kgf/c ) Pressure Gauge

Table of Contents

Related product manuals