EasyManua.ls Logo

Shibaura ST330 - Clutch Disk COMPL; Release Hub and Clutch Fork

Default Icon
250 pages
Print Icon
To Next Page IconTo Next Page
To Next Page IconTo Next Page
To Previous Page IconTo Previous Page
To Previous Page IconTo Previous Page
Loading...
75
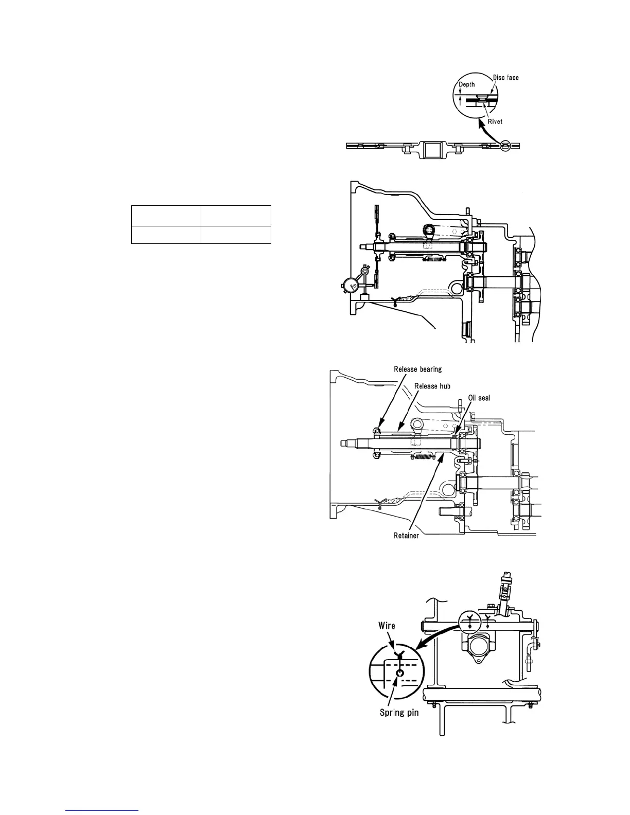
2Clutch disk COMPL
Measure the wear of the facing (rivet recess).
Replace if the rivet recess is less than 0.3 mm.
Replace the facing if hardened, or deflected due to
seizure.
Wash in oil solvent if oil is stuck.
Replace the spline if it is worn out or disk run-out
is observed.
Service limit
Disk run-out
1.0mm
3Release bearing
1. Rotate the bearing by hand and observe the
following conditions:
a. Abnormal noise
b. Uneven rotation
c. Excessive free-play
d. Scoring on inner race surface.
NOTE
Do not. wash the bearing since it is of non oil
replenishing type.
4Release hub and clutch fork
Replace the release hub and clutch fork if the fork
claw or release hub sliding part are worn out
unevenly.
When oil leakage is noticed from the inside of the
retainer, replace the oil seal. (Refer to the
paragraph of disassembly of transmission 1 .)
Coat the sliding parts of the retainer and release
hub sufficiently with grease.
NOTE
When installing the clutch fork, drive in a spring pin
and lock with wire.
331Y
332Y
333Y
334Y

Table of Contents

Related product manuals