EasyManua.ls Logo

YASKAWA E1000 - Page 177

YASKAWA E1000
480 pages
Print Icon
To Next Page IconTo Next Page
To Next Page IconTo Next Page
To Previous Page IconTo Previous Page
To Previous Page IconTo Previous Page
Loading...
5.5 E: Motor Parameters
Parameter Details
5
YASKAWA ELECTRIC SIEP C710616 35D YASKAWA AC Drive E1000 Technical Manual 177
E5-01: Motor Code Selection
When Yaskawa motors are used, set the motor code for the PM motor being used. Depending on the motor code entered,
the drive automatically sets several parameters to appropriate values. Refer to Parameters that Change with the Motor
Code Selection on page 404 for details on the supported motor codes and their parameter settings.
Setting parameter E5-01 to FFFF will allow to set the motor data manually using the E5- parameters.
Note: 1. E5- parameters are not reset when the drive is initialized using parameter A1-03.
2. When E5-01 is set to a value other than FFFF, the drive will not initialize using parameter A1-03.
3. Changing E5-01 to FFFF from value other than FFFF will not change the values of parameters E5-02 through E5-24.
4. Set E5-01 to FFFF when using a motor other than a Yaskawa SMRA, SSR1, or SST4 series.
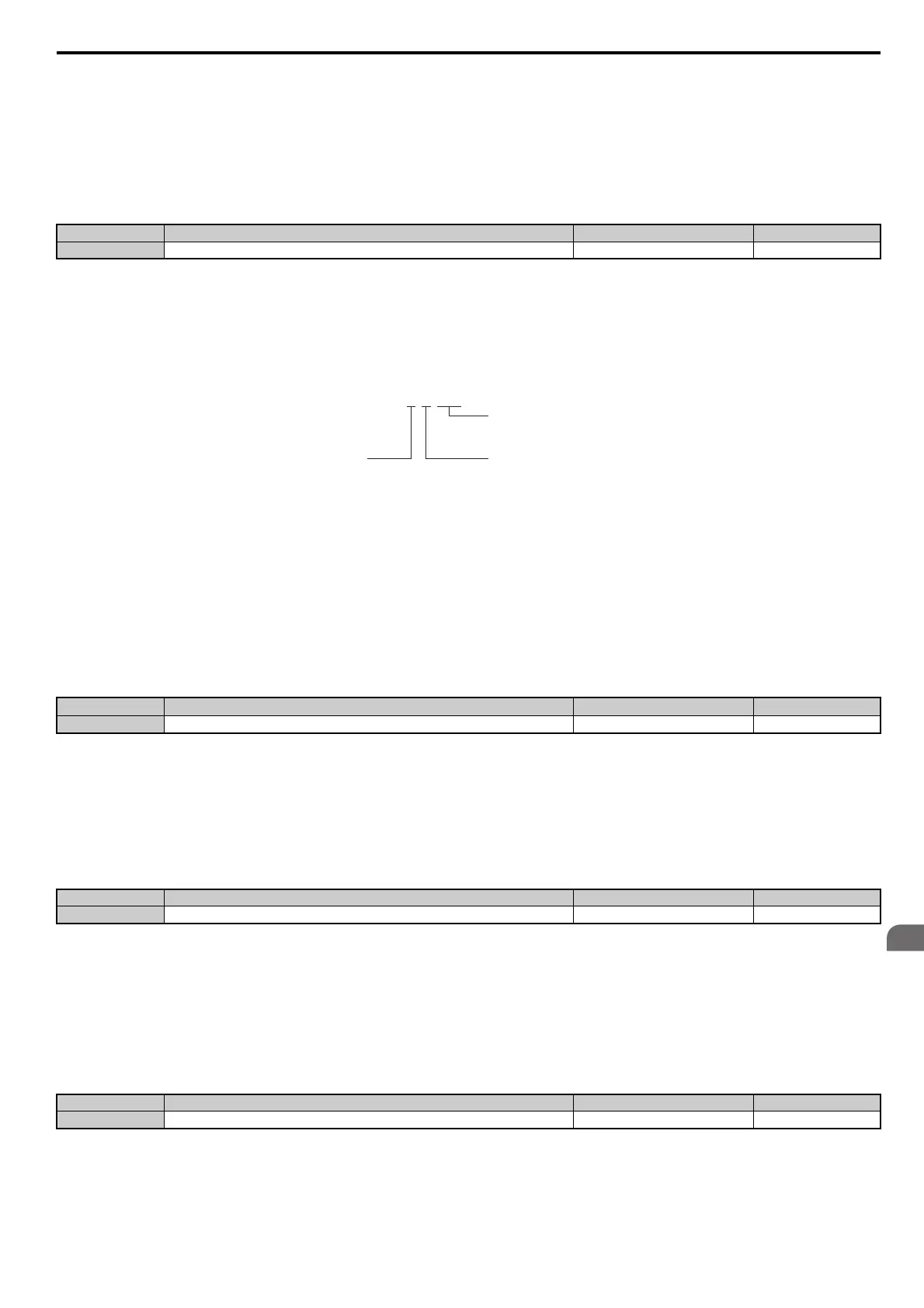
Figure 5.30 explains the motor code setting.
Figure 5.30
Figure 5.30 PM Motor Code
E5-02: Motor Rated Power
Sets the rated power of the motor. Determined by the value set to T2-04 during Stationary Auto-Tuning for PM motors or
by entering the motor code to E5-01.
E5-03: Motor Rated Current
Sets the motor rated current in amps. This parameter is automatically set when the value is entered to T2-06 during the
Auto-Tuning process.
Note: This value's number of decimal places depends on the drive model. The value will have two decimal places (0.01 A) if the drive
is set for a Maximum Applicable Motor Capacity up to 11 kW (refer to Table A.1 and Table A.2) and one decimal place (0.1 A)
if the set Maximum Applicable Motor Capacity is higher than 11 kW.
E5-04: Number of Motor Poles
Sets the number of motor poles. This parameter is automatically set when the value is entered to T2-08 during the Auto-
Tuning process.
No. Parameter Name Setting Range Default
E5-01 Motor Code Selection 0000 to FFFF Determined by o2-04
No.
<1> The display resolution depends on the motor rated power. Drive models 2A0004 to 2A0415 and 4A0002 to 4A0515 will display this value in
units of 0.01 kW (two decimal places). Models 4A0675 to 4A1200 will display this value in units of 0.1 kW (one decimal place). Refer to
Model Number and Nameplate Check on page 29 for details.
Parameter Name Setting Range Default
E5-02 Motor Rated Power 0.10 to 650.00 kW <1> Determined by E5-01
No. Parameter Name Setting Range Default
E5-03 Motor Rated Current 10 to 200% of drive rated current Determined by E5-01
No. Parameter Name Setting Range Default
E5-04 Number of Motor Poles 2 to 48 Determined by E5-01
0000
0: 1800 r/min Series
1: 3600 r/min Series
2: 1750 r/min Series
3: 1450 r/min Series
4: 1150 r/min Series
F: Special Motor
Motor Voltage Class
and Capacity
0: Pico Motor
(SMRA Series)
1: Derated Torque for IPM
Motors
(SSR 1 Series)
2: Rated Torque for IPM
Motors
YEC_TMonly
SIEP_C710616_35.book 177 ペー 2015年11月30日 月曜日 午後2時2分

Table of Contents

Related product manuals