EasyManua.ls Logo

Comtech EF Data CDM-625A - Page 609

Comtech EF Data CDM-625A
756 pages
Print Icon
To Next Page IconTo Next Page
To Next Page IconTo Next Page
To Previous Page IconTo Previous Page
To Previous Page IconTo Previous Page
Loading...
CDM-625A Advanced Satellite Modem MN-CDM625A
Appendix F Revision 4
F–3
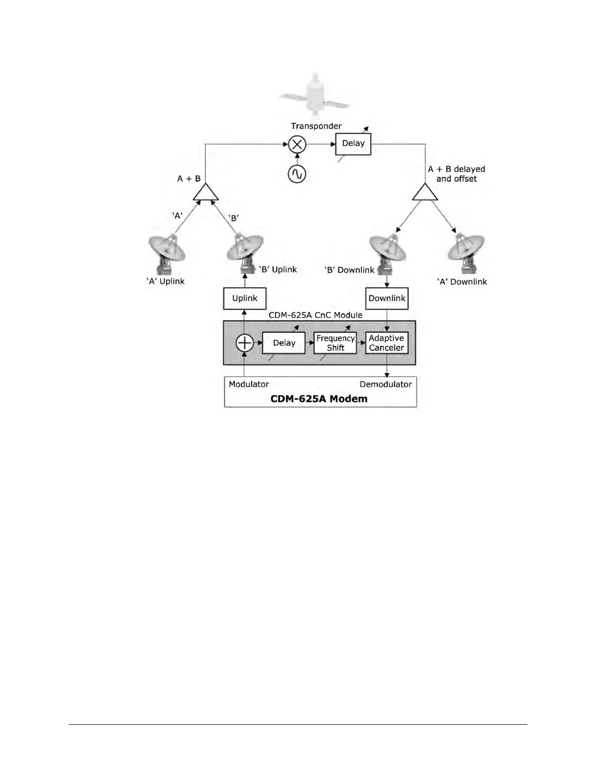
Figure F-1. Conceptual Block Diagram
This performance is achieved through advanced signal processing algorithms that provide
superior cancellation while tracking and compensating for the following common link
impairments:
1) Time varying delay: In addition to the static delays of the electronics and the round-trip
delay associated with propagation to the satellite and back, there is a time-varying
component due to movement of the satellite. CnC tracks and compensates for this variation.
2) Frequency offset and drift: Common sources are satellite Doppler shift, up and down
converter frequency uncertainties, and other drift associated with the electronics in the
CDM-625A itself. CnC tracks and compensates for this frequency offset and drift.
3) Atmospheric effects: Fading and scintillation can affect amplitude, phase, and spectral
composition of the signal and the degree to which it correlates with the original signal. CnC
tracks and compensates for these atmospheric related impairments.
4) Link Asymmetries: Various asymmetries in the forward and return link can produce
differences in the relative power of the two received signal components. These can be both
deterministic (static) or random (and time varying). An example of the former would be the
differences resulting from antenna size/gain variations between the two ends of the link. An

Table of Contents

Related product manuals