EasyManua.ls Logo

SCM CU 300C - Second Cut (Squaring); Third Cut

SCM CU 300C
326 pages
Print Icon
To Next Page IconTo Next Page
To Next Page IconTo Next Page
To Previous Page IconTo Previous Page
To Previous Page IconTo Previous Page
Loading...
7 - SUPPORTING FRAME AND FENCE FOR PARALLEL CUTS: USE AND
ADJUSTMENT
EN
Pag. 18/26 - Cap. 7 THIS MANUAL IS PROPERTY OF SCM INDUSTRIA S.P.A - ANY TOTAL OR PARTIAL REPRODUCTION IS STRICTLY FORBIDDEN
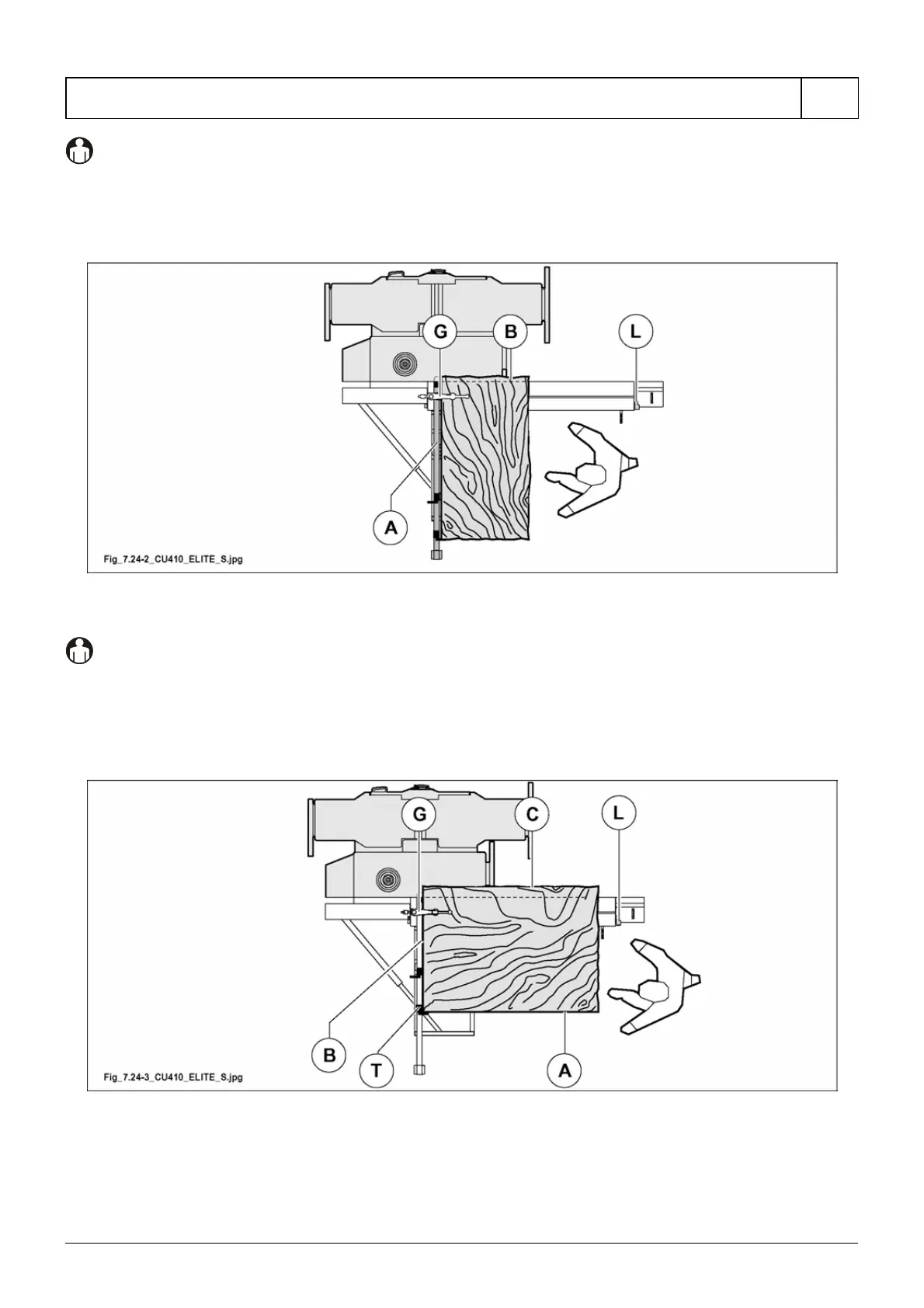
7.24.2 SECOND CUT (SQUARING)
(ev_7-24-2_0.0)
- Move the sliding table to the end of stroke (see fig. 7.24-2), lock lever (L fig. 7.24-2).
- Turn the panel 90°. Rest the trimmed side (A fig. 7.24-2) against aluminium rule; lock the panel with
clamping device (G fig. 7.24-2) then carry out cut (B fig. 7.24-2).
Fig. 7.24-2
7.24.3 THIRD CUT
(ev_7-24-3_0.0)
- Move the sliding table to the end of stroke (see fig. 7.24-3), lock lever (L fig. 7.24-3).
- Turn the panel 90° again. Rest side (B fig. 7.24-3) against aluminium rule and trimmed side (A fig. 7.24-3)
against stop (T fig. 7.24-3) set to the cutting measure; lock the panel with clamping device (G fig. 7.24-3)
carry out cut (C fig. 7.24-3).
Fig. 7.24-3

Table of Contents

Related product manuals