EasyManua.ls Logo

SCM CU 300C - Page 167

SCM CU 300C
326 pages
Print Icon
To Next Page IconTo Next Page
To Next Page IconTo Next Page
To Previous Page IconTo Previous Page
To Previous Page IconTo Previous Page
Loading...
EN
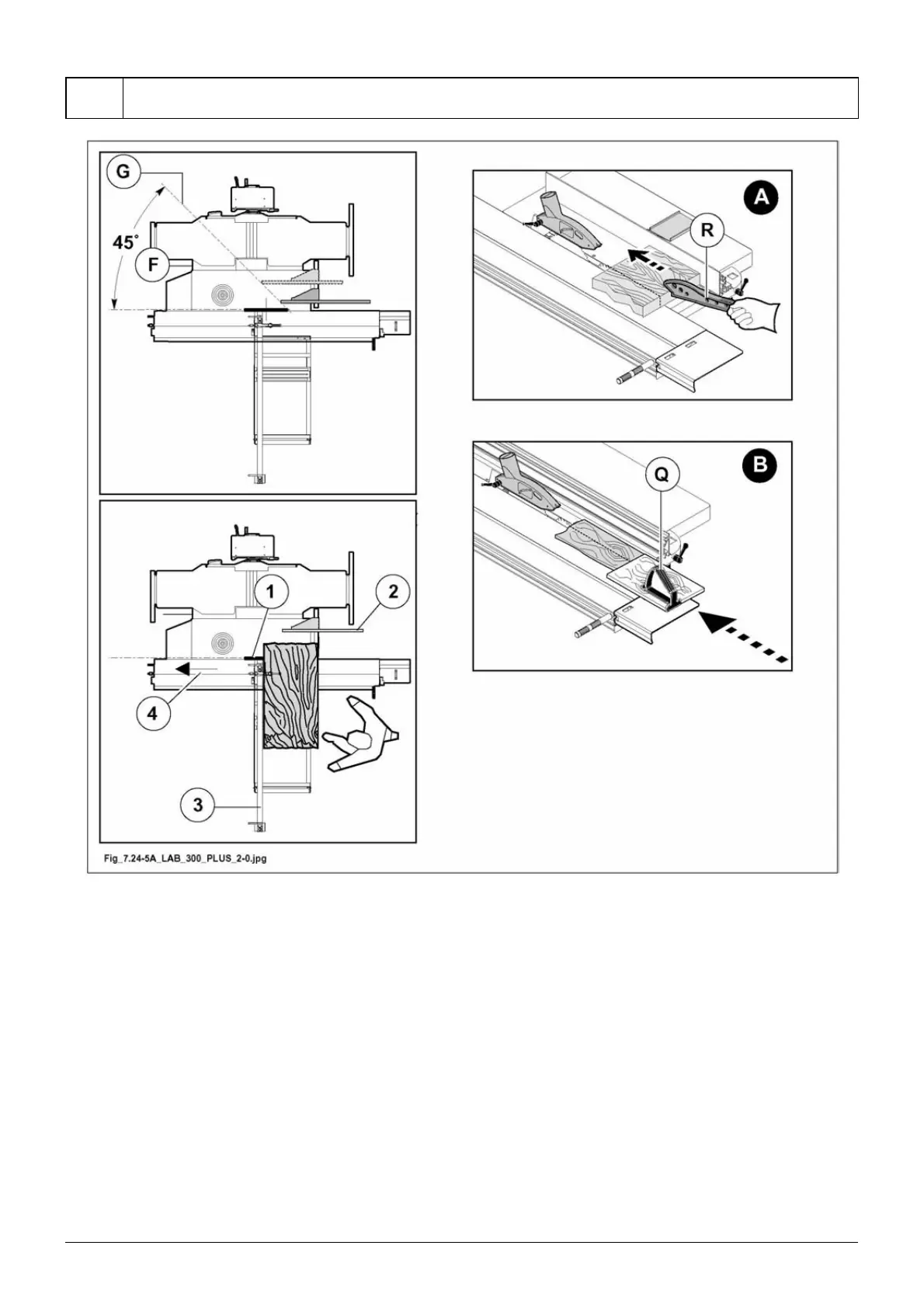
7 - SUPPORTING FRAME AND FENCE FOR PARALLEL CUTS: USE AND
ADJUSTMENT
THIS MANUAL IS PROPERTY OF SCM INDUSTRIA S.P.A - ANY TOTAL OR PARTIAL REPRODUCTION IS STRICTLY FORBIDDEN Cap. 7 Pag. 23/26
Fig. 7.24-5A

Table of Contents

Related product manuals