EasyManua.ls Logo

Thales FMGS - System Interfaces

Thales FMGS
703 pages
Print Icon
To Next Page IconTo Next Page
To Next Page IconTo Next Page
To Previous Page IconTo Previous Page
To Previous Page IconTo Previous Page
Loading...
4
FMS GENERAL DESCRIPTION
SYSTEM OVERVIEW
J43126AA 00
© THALES AVIONICS S.A.
AIRBUS A318/319/320/321
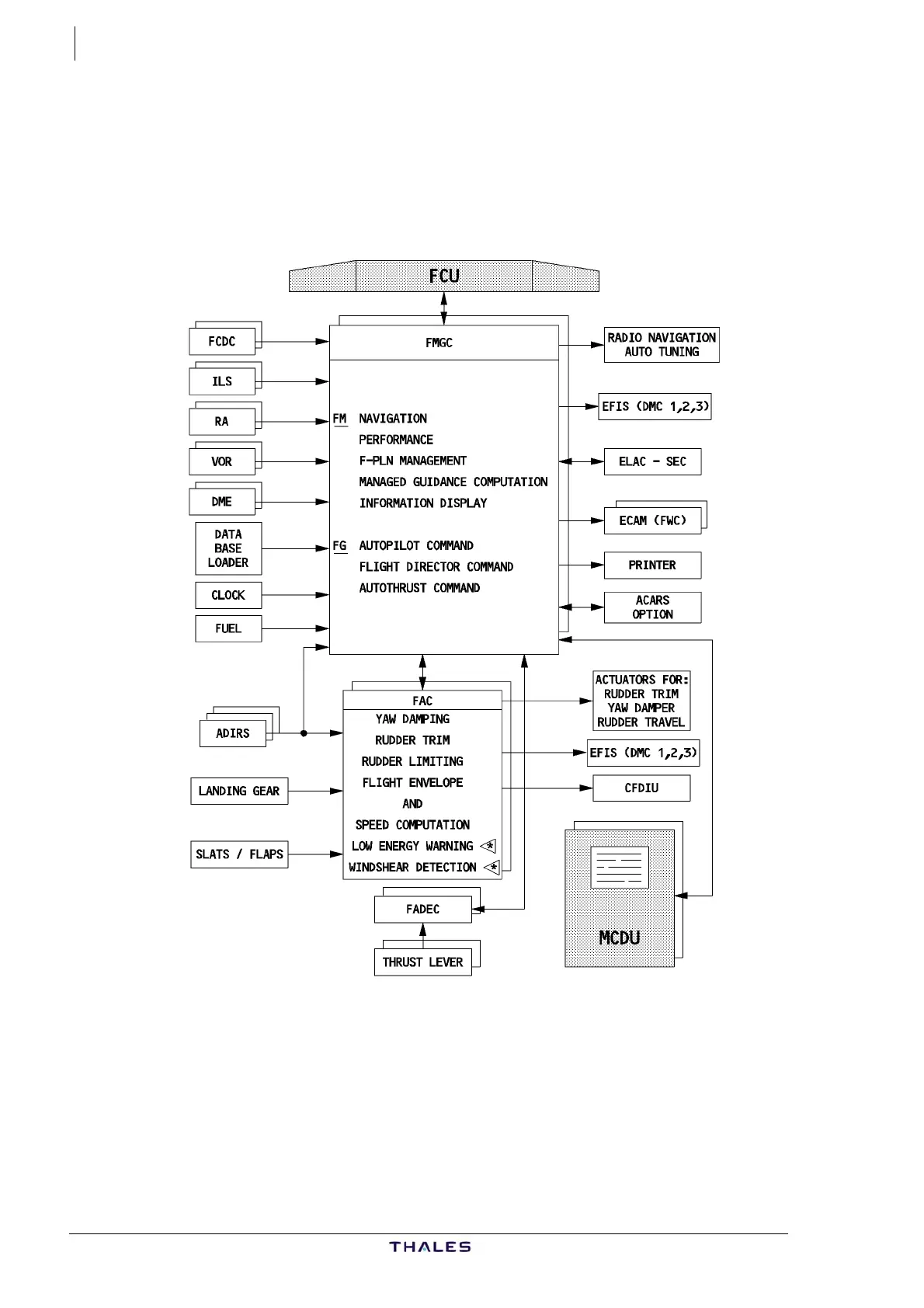
2.2. SYSTEM INTERFACES
The FMGCs receive and transmit signals from and to other aircraft
systems. Figure here under shows the interconnections between these
systems and the FMGCs.

Table of Contents