EasyManua.ls Logo

Thales FMGS - Pilot Interfaces

Thales FMGS
703 pages
Print Icon
To Next Page IconTo Next Page
To Next Page IconTo Next Page
To Previous Page IconTo Previous Page
To Previous Page IconTo Previous Page
Loading...
FMS GENERAL DESCRIPTION
SYSTEM OVERVIEW
5
AIRBUS A318/319/320/321
© THALES AVIONICS S.A.
J43126AA 00
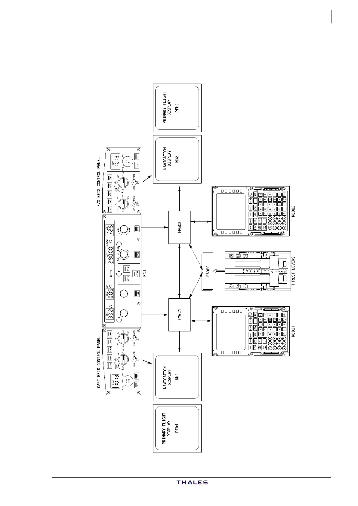
2.3. PILOT INTERFACES
The figure shows the pilot interfaces and their interconnection.

Table of Contents