EasyManua.ls Logo

Kollmorgen AKD 2G-S Series

Kollmorgen AKD 2G-S Series
210 pages
To Next Page IconTo Next Page
To Next Page IconTo Next Page
To Previous Page IconTo Previous Page
To Previous Page IconTo Previous Page
Loading...
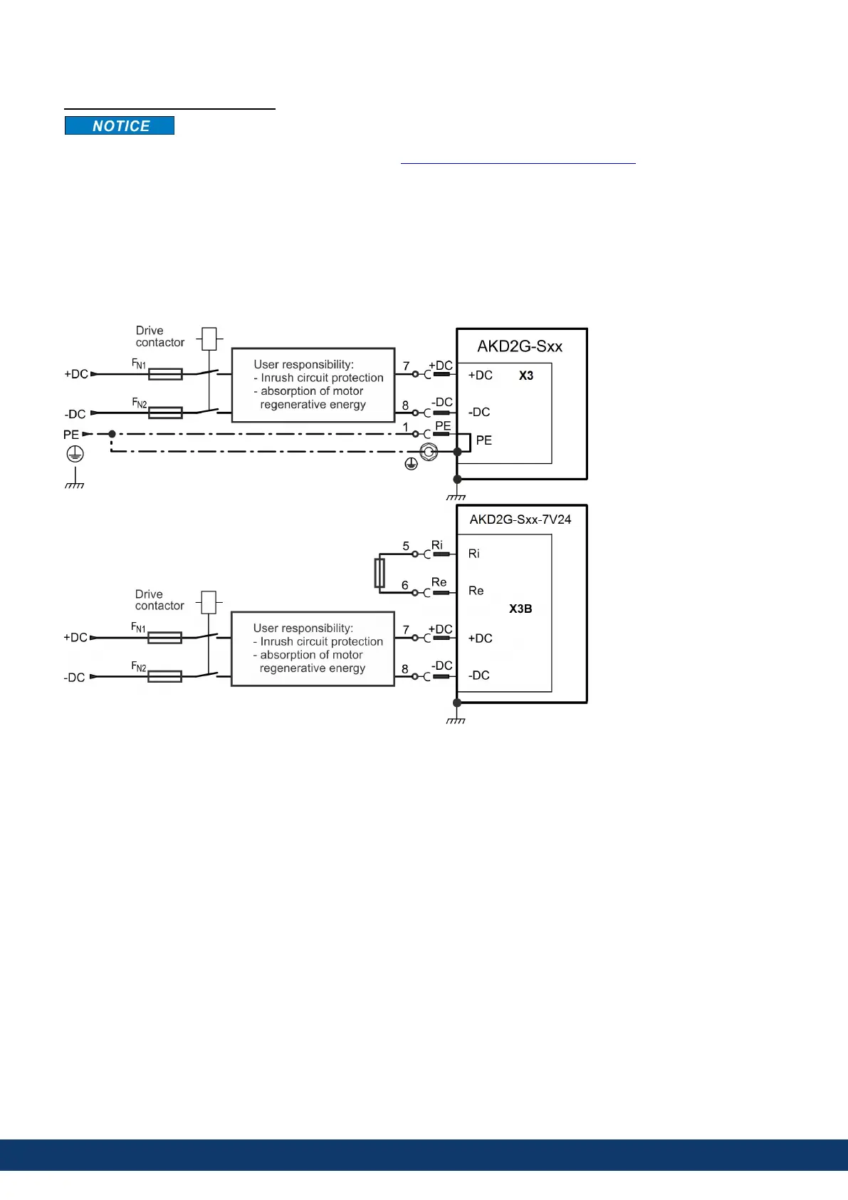
AKD2G-S Installation Manual, Safety 1 | 8 Electrical Installation
DC Supply to DC Bus lines X3/7-8
When wiring DC power supply to the drive DC Bus terminals X3/X3B pins 7 and 8, the
user is responsible for current and power management using additional external
devices. For more information refer to KDN (AKD2G Low Voltage DC Operation).
User responsibility:
l
The power supply system design must ensure inrush current
protection by limiting input current during power up.
l
Provide a means to safely absorb energy from the motor when slowing
down/regenerating. UL Rating for DC requires that DC is created from
an AC source.Other forms of DC are not covered by the UL listing.
l
DC supply polarity must be properly wired. Improper polarity of DC
power will damage the drive and void warranty.
84 Kollmorgen | kdn.kollmorgen.com | June, 2023

Table of Contents

Related product manuals