EasyManua.ls Logo

Linde E35 - Noise Emission Values

Linde E35
318 pages
Print Icon
To Next Page IconTo Next Page
To Next Page IconTo Next Page
To Previous Page IconTo Previous Page
To Previous Page IconTo Previous Page
Loading...
Technical data
6
Noise emission values
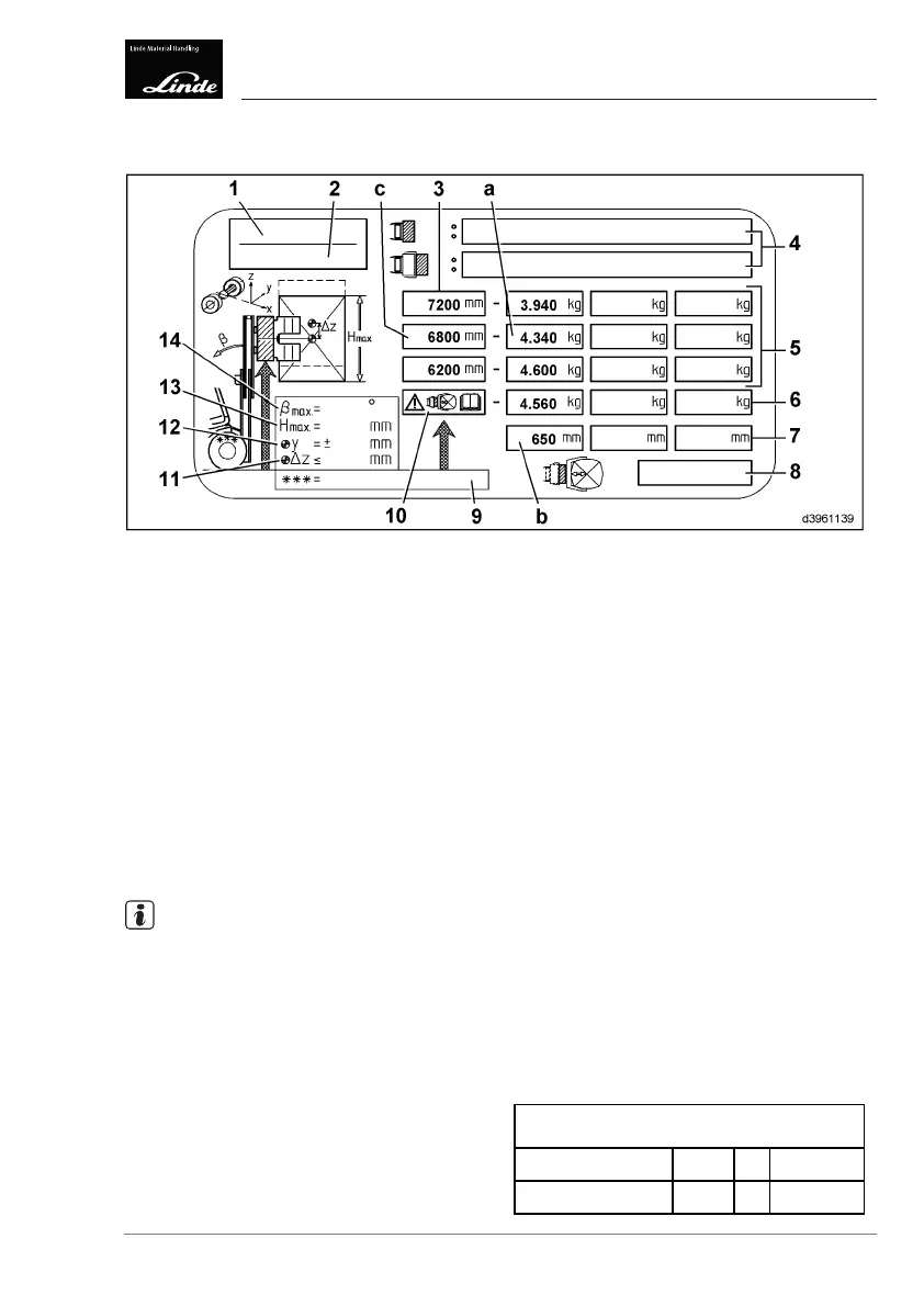
Additional capacity rating plate for attachments with loads that are fixed or clamped
1 Truck series (year of manufacture, from - to)
2 Liftmasttype(series)
3 Lift heights
4 Attachments
5 Load capacities
6 Reduced load capacities
7 Load centres of gravity
8 Reference number and note about person
calculating the load capacity
9 Front tyres
10 Note If there is sufficient visibility for
forwards travel when transporting loads,
we recommend that the calculated residual
load capacity based on the roller height /
load height (value = maximum permissible
load height (13)) is limited to the following in
order to achieve a more dynamic driving
behaviour: at a load centre of gravity
650 mm = 4,560 kg.
11 Specifies in mm how much the load centre
of gravity is offset vertically upwards to the
centre of the attachment (e.g. roller / bale
taken off).
Also applicable for attachments with a rotate
function: The actual centre of gravity of the
load during rotation must not lie outside the
pivot point by more than 100 mm (truck rated
capacity 6300 kg) or 150 mm (truck rated
capacity > 6300 kg and 10,000 kg)!
12 Maximum permissible centre offset of load
13 Maximum permissible load height
14 Maximum permissible lift mast backwards
tilt
NOTE
Example for reading the load capacity:
a = 4340 kg at load centre of gravity b =
650 mm to lift height c = 6800 mm.
Noise emission values
Calculated in the test cycle in accordance with
EN 12053 from the weighted values for the
DRIVING, LIFTING and IDLING operating
statuses.
Sound pressure level in the driver's compart-
ment
E
35 E 50
L
PAZ
=
67 dB (A)
Insecurity
K
PA
=
2dB(A)
Operating Instructions 3888011701 EN 12/2017 297

Table of Contents

Related product manuals