EasyManua.ls Logo

Linde E35 - Truck Configuration

Linde E35
318 pages
Print Icon
To Next Page IconTo Next Page
To Next Page IconTo Next Page
To Previous Page IconTo Previous Page
To Previous Page IconTo Previous Page
Loading...
3
Overview
Labelling
Truck configuration
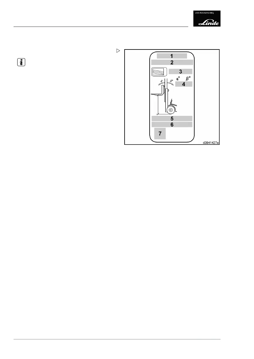
"Truck configuration" sign
NOTE
If attachments and conversions are required,
please contact your service partner. A new
"truck configuration" label must then be
created and attached to the truck by the
service partner.
1
Chassis serial number
2
Identification pl
ate designation for lift mast with:
Lift mast series
lift mast version lift height in cm or
Identification: "
ohne / CO"*
Lift mast version
variants:
"S" means standar
dliftmast
"D" means duplex l
ift mast
"T" means triplex
lift mast
3
Number of capaci
ty rating plate
4
Maximum permissible forwards/backwards tilt angle
5
Driveaxletyres:
"SE" means solid rubber tyres
"Luft" means pneumatic tyres
"ZW" means twin tyres
"Band" means bandage tyres
6 Attachment:
"GTR" means fork carriage
"ISS" means integrated sideshift
"IZVG" means integrated fork prong positioner
"ohne / CO" means customer-specific option
7
Placeholder for "data matrix code"
"ohne / CO"* means customer-specific option (without lift mast or with released non-original lift
mast)
.
38 Operating Instructions 3888011701 EN 12/2017

Table of Contents

Related product manuals