EasyManua.ls Logo

Monaco Executive 2005 - Page 210

Default Icon
538 pages
Print Icon
To Next Page IconTo Next Page
To Next Page IconTo Next Page
To Previous Page IconTo Previous Page
To Previous Page IconTo Previous Page
Loading...
Section 5 --- Equipment
The Executive 2005
210
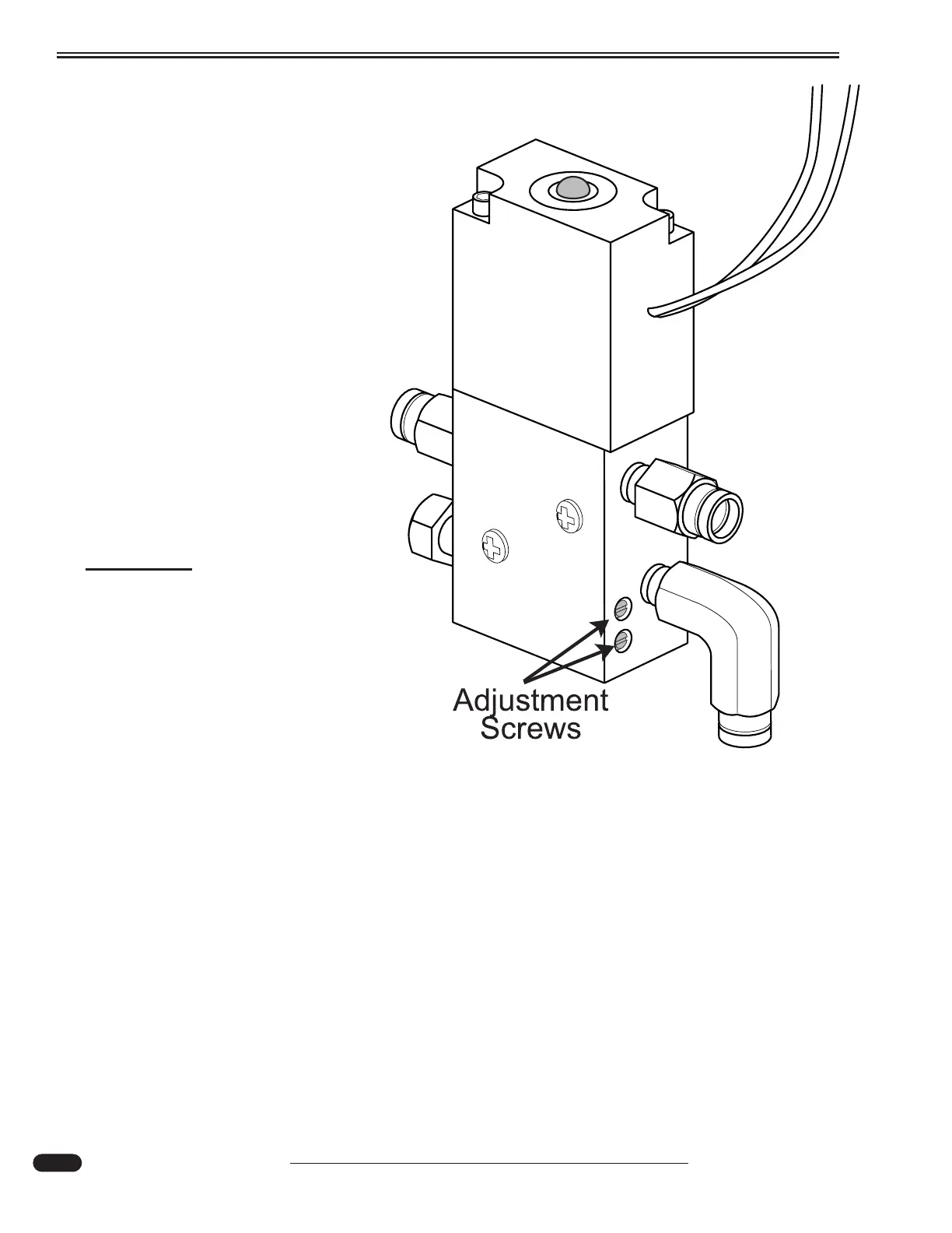
Adjustments:
The air solenoid is located in the front
of the motorhome, behind the generator
door mounted to the firewall. The easiest
way to identify the location is have some-
one operate the stepwell cover with the
generator door open and listen for the
release of air.
The air solenoid has two adjustment
screws to regulate air flow to either side of
the air cylinder. Adjusting the screws will
affect the speed in which the air cylinder
moves in or out: Clockwise adjustment to
decrease air flow and counterclockwise
adjustment to increase air flow. For proper
stepwell cover operation it is recommended
that adjustments be performed by a quali-
fied service person.
WARNING:
When adjusting the stepwell cover
clear the stepwell area of obstruc-
tions, pets or persons. Do not
adjust the stepwell cover while
stepwell area is occupied.
090387
Air Solenoid

Table of Contents

Related product manuals