EasyManua.ls Logo

Monaco Executive 2005 - Adjusting Ride Height

Default Icon
538 pages
Print Icon
To Next Page IconTo Next Page
To Next Page IconTo Next Page
To Previous Page IconTo Previous Page
To Previous Page IconTo Previous Page
Loading...
Chassis Information --- Section 10
The Executive 2005
435
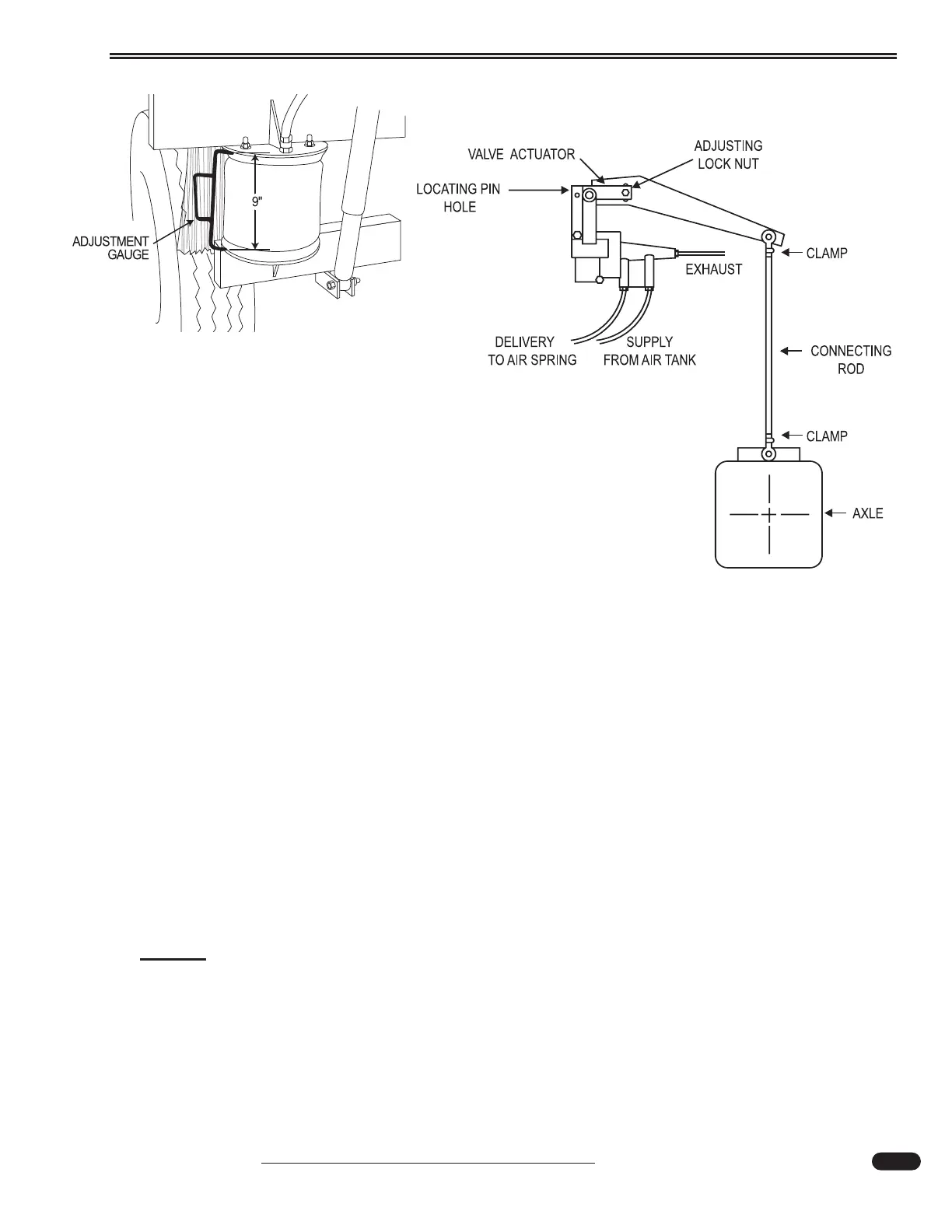
Preparations to adjust the suspension ride height:
• The motorhome on flat level surface.
Air system fully charged.
• Ignition key on.
• Suspension at normal ride height.
Air level system in travel mode.
Start by checking the distance in the front.
1. Measure the distance between the mounting plates of the air springs.
2. If the measurement is off, loosen the adjusting lock nut at the eccentric slot on the valve.
3. Move the plastic arm up to raise suspension height and inflate all the front air springs.
Move the plastic arm down to lower suspension height and deflate the air springs. Make
adjustments in small increments.
4. After obtaining the specified distance, insert a 1/8" or 7/64" inch twist drill bit into the plas-
tic arm and valve body. This will center the travel of internal piston. Tighten adjusting lock
nut between 60-80 in/lbs.
5. Check adjustments made by using the Air Dump switch to deflate air springs. Start the
engine and allow the air system to become fully charged. Allow the suspension to adjust and
come to a neutral setting.
6. Re-check the suspension height measurement. Follow the same procedure for each rear
control valve.
7. Re-check the front suspension height after adjusting the rear height control valves.
NOTE:
Do not modify length of the linkage rods. Make any necessary adjustments using
eccentric slot on the ride height control valve.
090293B
090371
Adjusting Ride Height
Measurement is: Front = 9 in., Rear = 9 in.

Table of Contents

Related product manuals