EasyManua.ls Logo

Monaco Executive 2005 - Page 62

Default Icon
538 pages
Print Icon
To Next Page IconTo Next Page
To Next Page IconTo Next Page
To Previous Page IconTo Previous Page
To Previous Page IconTo Previous Page
Loading...
Section 2 --- Driving & Safety
The Executive 2005
62
• Open the LP-Gas tank primary valve.
• Prepare the shore cord for connection. Uncoil and
inspect the cord, and perform necessary cord
maintenance. Install proper electrical adapters if
anything other than 50 Amp service is provided.
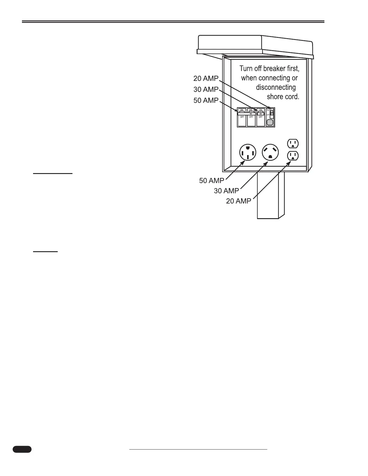
Operate electrical appliances in sequence when
hooked to limited shore power service. Turn shore
power circuit breaker OFF prior to plugging in the
shore cord.
• If possible, begin appliance operation on LP-Gas
for the first 60 minutes. Switch the refrigerator
operation to gas and start the Aqua-Hot (if need-
ed). This allows time for the inverter to stabilize
battery charging.
CAUTION:
If shore power service is limited to 15 or 20
Amps, use of light duty extension cords and
electrical adapters will create a voltage loss
through the cord and at each electrical con-
nection. Line voltage loss and the resistance
at each electrical connection can be a haz-
ardous combination. Damage to sensitive
electronic equipment may result!
NOTE:
To avoid shore power overload when hooked to 30 Amp service, determine appliances
current load prior to turning on appliances or using interior outlets.
020125
Typical Power Pedestal

Table of Contents

Related product manuals