EasyManua.ls Logo

Quantum Scalar i6000 - Power System

Quantum Scalar i6000
384 pages
To Next Page IconTo Next Page
To Next Page IconTo Next Page
To Previous Page IconTo Previous Page
To Previous Page IconTo Previous Page
Loading...
44 Installing a Multi-Module Library
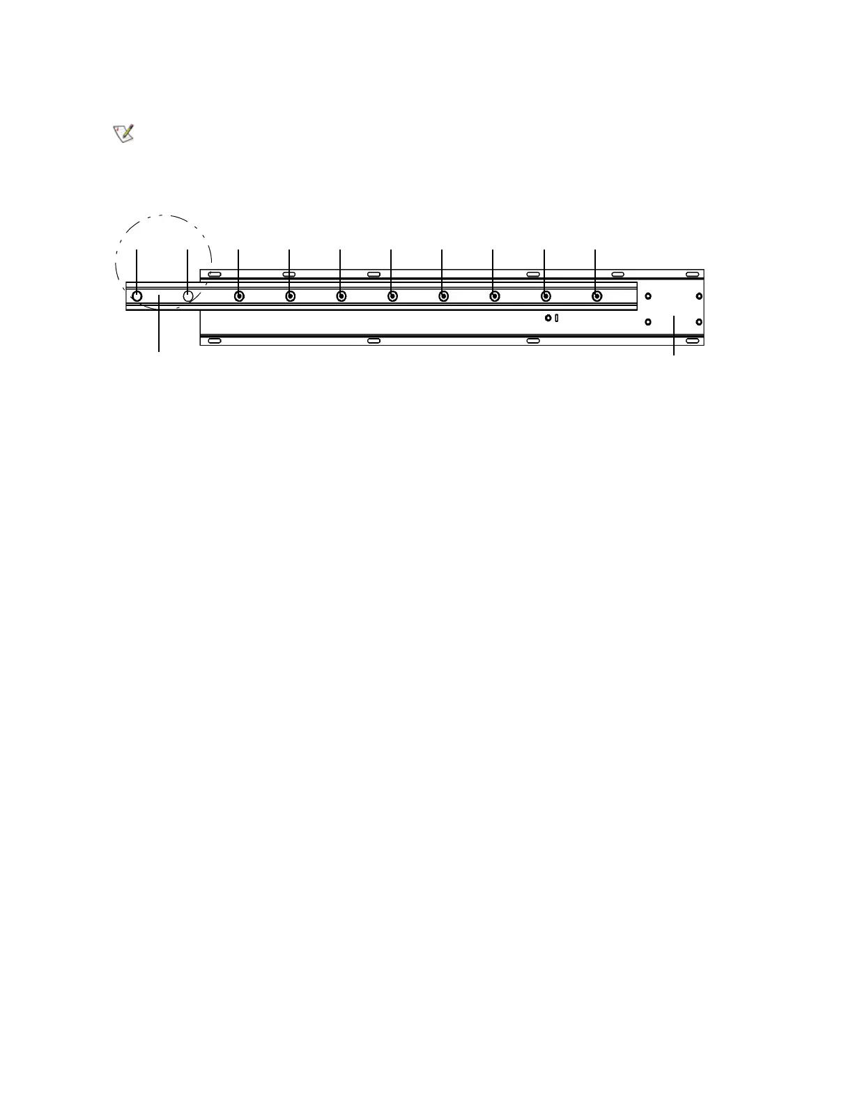
When attached, the middle X-axis rail must appear as shown below.
Note
The holes will appear slightly shifted on the 7mm shorter rail.
middle
X-axis
X-axis rail
channel
12345678910

Table of Contents

Other manuals for Quantum Scalar i6000

Related product manuals