EasyManua.ls Logo

Xerox WorkCentre 5230 - PL 23.4 H - Transport Assembly (4 of 5)

Xerox WorkCentre 5230
1457 pages
Print Icon
To Next Page IconTo Next Page
To Next Page IconTo Next Page
To Previous Page IconTo Previous Page
To Previous Page IconTo Previous Page
Loading...
February, 2008
5-91
WorkCentre 5225, 5230
PL 23.4
Parts List
Launch Version
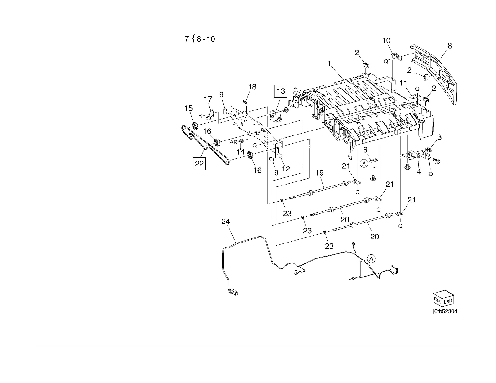
PL 23.4 H - Transport Assembly (4 of
5)
Item Part Description
1 Lower Chute (P/O PL 23.2 Item 6)
2 121E92720 Magnet
3 130E81600 H - Transport Open Sensor
4 868E15540 Sensor Bracket
5 809E81720 Actuator
6 930W00211 H - Transport Entrance Sensor
7 848K14231 H - Transport Front Cover
Assembly
8 848E15151 H - Transport Front Cover
9 921W41162 Gasket
10 Hinge (P/O PL 23.4 Item 7)
11 Bracket (P/O PL 23.2 Item 6)
12 Rear Frame Assembly (P/O PL
23.2 Item 6)
13 127K57622 H - Transport Motor (REP 16.1.4)
14 020E45330 Tension Pulley
15 020K15720 Pulley (T43)
16 020E45210 Pulley (T43)
17 Tension Bracket (P/O PL 23.2 Item
6)
18 809E78950 Spring Tension
19 059K54480 Drive Roll
20 059K55070 Drive Roll
21 013E33140 Bearing
22 423W01154 H - Transport Belt (REP 16.1.3)
23 413W14660 Sleeve Bearing
24 962K60422 Wire Harness

Table of Contents

Other manuals for Xerox WorkCentre 5230

Related product manuals