EasyManua.ls Logo

Uson Qualitek mR - 8.8 Expanded I;O Port Pinout

Uson Qualitek mR
266 pages
Print Icon
To Next Page IconTo Next Page
To Next Page IconTo Next Page
To Previous Page IconTo Previous Page
To Previous Page IconTo Previous Page
Loading...
8-14 Qualitek mR Owner’s Guide
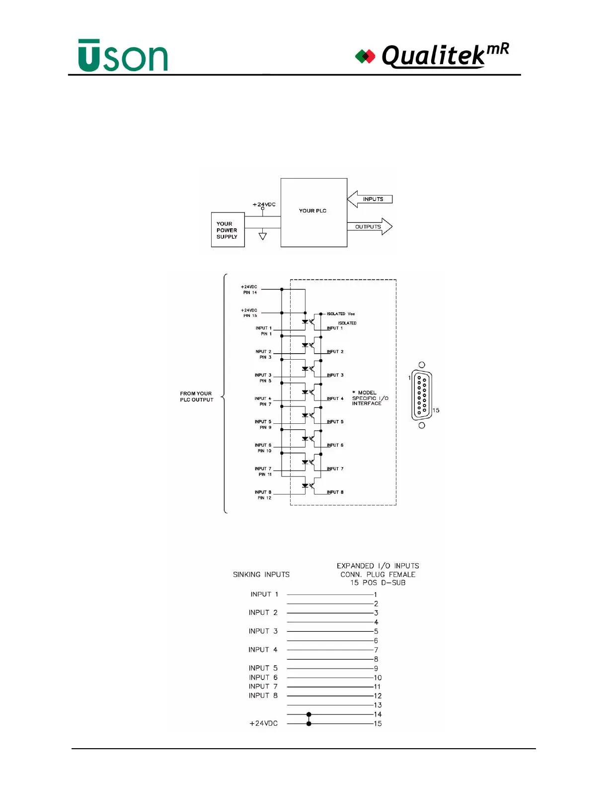
8.8 Expanded I/O Port Pinout
The expanded I/O assignments are configured by the user. The following
illustrations below and on the next page show the hardwiring.

Table of Contents

Related product manuals