EasyManua.ls Logo

Yamaha TMAX TECH MAX 2020 - Page 650

Yamaha TMAX TECH MAX 2020
688 pages
Print Icon
To Next Page IconTo Next Page
To Next Page IconTo Next Page
To Previous Page IconTo Previous Page
To Previous Page IconTo Previous Page
Loading...
9-176
16_ABS
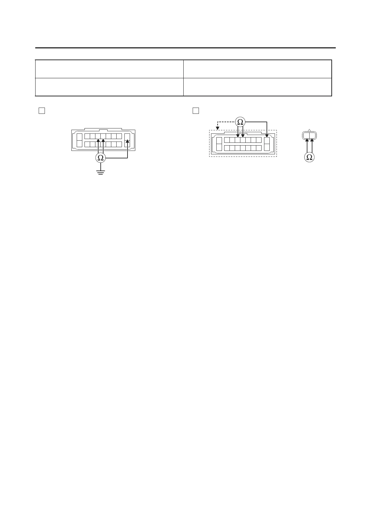
Lines short circuit check “B”
3. Defective rear wheel sensor or hydraulic unit assembly
If the above items were performed and no malfunctions were found, the wheel sensor or hydraulic
unit assembly is defective.
Replace the wheel sensor or hydraulic unit assembly.
Refer to “REAR WHEEL” on page 4-30 and “ABS (Anti-lock Brake System)” on page 4-67.
ABS ECU coupler “1”
white–any other coupler terminal
black–any other coupler terminal
Rear wheel sensor “2”
white–any other coupler terminal
black–any other coupler terminal
Is resistance ?
YES
Go to step 3.
NO
Replace the wire harness.
B
W/G
G/R
W/Y
WBBW
R/W
B/G
B/L
Lg/W
Lg/L
Br/W
LgLg
G/Y
R/L
B
W/G
G/R
W/Y
WBBW
R/W
B/G
B/L
Lg/W
Lg/L
Br/W
LgLg
G/Y
R/L
B W
1
2
BA
1

Table of Contents

Related product manuals