EasyManua.ls Logo

Mazda RX-8 2004 - Auto Level Control (ALC)

Mazda RX-8 2004
540 pages
Print Icon
To Next Page IconTo Next Page
To Next Page IconTo Next Page
To Previous Page IconTo Previous Page
To Previous Page IconTo Previous Page
Loading...
ENTERTAINMENT
09–20–8
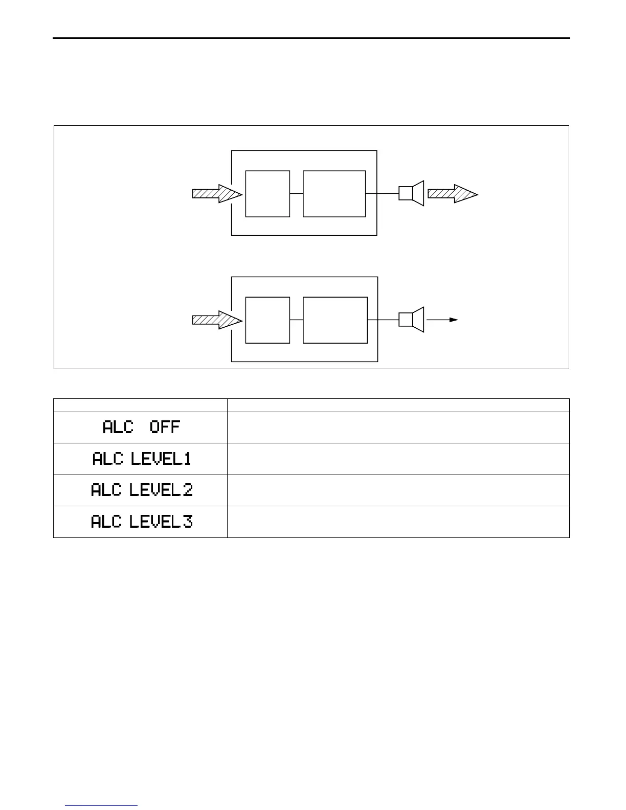
Auto Level Control (ALC)
Function
Adjusts the audio volume so that the sound is balanced against wind and road noise while driving.
Operation
The audio unit changes the volume automatically based on the vehicle speed signal sent from the ABS HU/CM
(with ABS) or DSC HU/CM (with DSC).
The ALC function is divided into four modes, and can be used effectively to match the driving conditions.
HIGHER VEHICLE SPEED
LOWER VEHICLE SPEED
VEHICLE SPEED
SIGNAL
ALC
CIRCUIT
POWER
AMPLIFIER
POWER
AMPLIFIER
SPEAKER
HIGHER
VOLUME
NORMAL
VOLUME
SPEAKER
AUDIO UNIT(BASE UNIT)
AUDIO UNIT(BASE UNIT)
ALC
CIRCUIT
VEHICLE SPEED
SIGNAL
A6A8124T007
Mode Condition
ALC function cancel
Outside road noise low
Outside road noise rather high
Outside road noise high

Table of Contents

Related product manuals