EasyManua.ls Logo

Maxim Integrated MAX32660 - Figure 4-1: Clock Tree Diagram

Maxim Integrated MAX32660
195 pages
Print Icon
To Next Page IconTo Next Page
To Next Page IconTo Next Page
To Previous Page IconTo Previous Page
To Previous Page IconTo Previous Page
Loading...
MAX32660 User Guide
Maxim Integrated Page 24 of 195
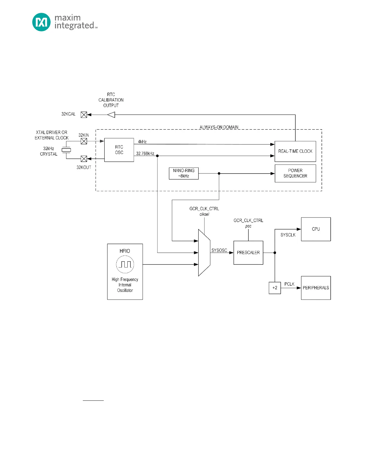
4.2 System Clocks
Figure 4-1, below, shows a high-level diagram of the MAX32660 clock tree.
Figure 4-1: Clock Tree Diagram
The selected System Oscillator (SYSOSC) is the clock source for most internal blocks. Select SYSOSC from the following clock
sources:
High-Frequency Internal Oscillator (HFIO)
8kHz Internal Ultra-Low Power Nano-Ring Oscillator
32.768kHz External Crystal Oscillator
The selected SYSOSC is the input to the system oscillator prescaler, which generates the System Clock (SYSCLK). The system
oscillator prescaler divides SYSOSC by a prescaler using the GCR_CLK_CTRL.psc field as shown in Equation 4-1.
Equation 4-1: System Clock Scaling



GCR_CLK_CTRL.psc is selectable from 0 to 7, resulting in divisors of 1, 2, 4, 8, 16, 32, 64 or 128.

Table of Contents

Related product manuals