EasyManua.ls Logo

Anritsu ML2437A - Appendix D: Connector Care and Handling; Pin Depth Mating Connectors

Anritsu ML2437A
314 pages
Print Icon
To Next Page IconTo Next Page
To Next Page IconTo Next Page
To Previous Page IconTo Previous Page
To Previous Page IconTo Previous Page
Loading...
ML2437A/38A OM/PM PN: 10585-00001 Rev. P D-1
Appendix D — Connector Care and
Handling
Follow the precautions listed below when handling or connecting cables. Complying with
these precautions will guarantee longer component life and less equipment down time due to
connector or device failure.
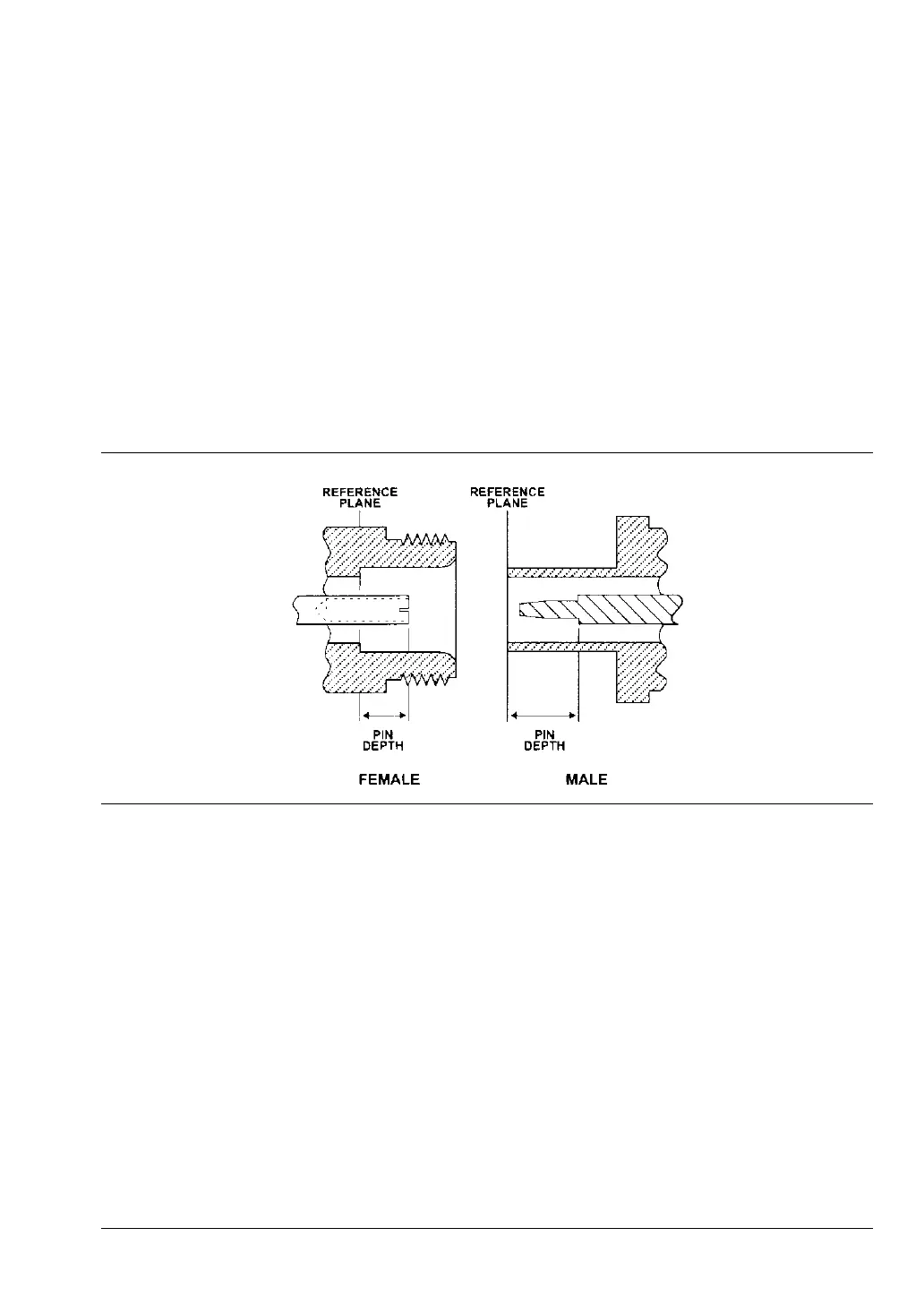
D-1 Pin Depth Mating Connectors
Destructive pin depth of mating connectors is the major cause of failure in the field. When an
RF component is mated with a connector having a destructive pin depth, damage will usually
occur to the RF component connector. A destructive pin depth is one that is too long in respect
to the reference plane of the connector (see figure below).
Figure D-1. N Connector Pin Depth Definition

Table of Contents

Related product manuals