EasyManua.ls Logo

Juniper MX960 - Replacing the Console or Auxiliary Cable on an MX960 Router

Juniper MX960
761 pages
Print Icon
To Next Page IconTo Next Page
To Next Page IconTo Next Page
To Previous Page IconTo Previous Page
To Previous Page IconTo Previous Page
Loading...
Figure 184: Ethernet Port
SEE ALSO
Replacing an MX960 Routing Engine | 461
Replacing the Console or Auxiliary Cable on an MX960 Router
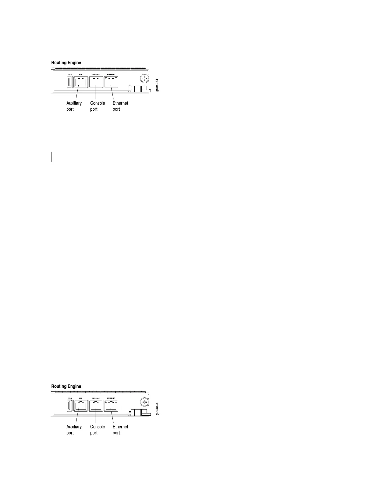
To use a system console to configure and manage the Routing Engine, connect it to the CONSOLE port
on the Routing Engine. To use a laptop, modem, or other auxiliary device, connect it to the AUX port on
the Routing Engine. Both ports accept a cable with an RJ-45 connector. One RJ-45/DB-9 cable is provided
with the router. If you want to connect a device to both ports, you must supply another cable.
To replace a cable connected to a management console or auxiliary device:
1. Wrap and fasten one end of the ESD grounding strap around your bare wrist, and connect the other
end of the strap to the ESD point on the chassis.
2. Press the tab on the connector, and pull the connector straight out of the port.
3. Disconnect the cable from the console or auxiliary device.
4. Plug the RJ-45 end of the replacement serial cable into the CONSOLE or AUX port.
Figure 162 on page 439 shows the external device ports on the Routing Engine.
5. Plug the female DB-9 end into the console or auxiliary device's serial port.
Figure 185: Auxiliary and Console Ports
474

Table of Contents

Other manuals for Juniper MX960

Related product manuals