EasyManua.ls Logo

ATEN KE6900T - Slim Transmitters - KE6900 ST; Slim Transmitters - KE8900 ST; KE9900 ST

ATEN KE6900T
466 pages
To Next Page IconTo Next Page
To Next Page IconTo Next Page
To Previous Page IconTo Previous Page
To Previous Page IconTo Previous Page
Loading...
KVM over IP Matrix System User Manual
82
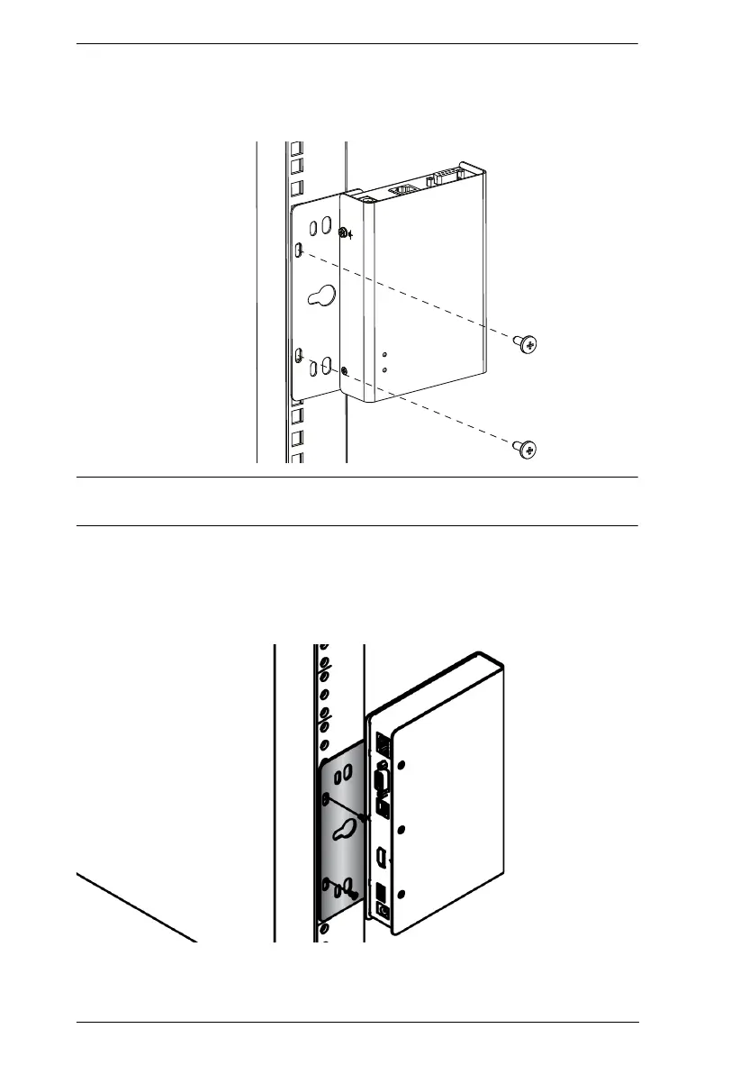
Slim Transmitters — KE6900ST
Screw the mounting bracket on a convenient location of the rack.
Note: Rack screws are not provided. We recommend the use of M5 x 12
Phillips Type I cross recessed screws.
Slim Transmitters — KE8900ST / KE9900ST
Screw the mounting bracket on any convenient location of the rack.

Table of Contents

Related product manuals