EasyManua.ls Logo

ATEN KE6900T - KE9950 ATC Network Installation Diagram 1 of 2

ATEN KE6900T
466 pages
To Next Page IconTo Next Page
To Next Page IconTo Next Page
To Previous Page IconTo Previous Page
To Previous Page IconTo Previous Page
Loading...
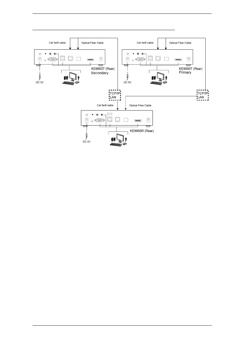
Chapter 2. Hardware Setup
151
KE9950ATC Network Installation Diagram 1 of 2

Table of Contents

Related product manuals