EasyManua.ls Logo

HBM MGCplus - Page 286

HBM MGCplus
304 pages
Print Icon
To Next Page IconTo Next Page
To Next Page IconTo Next Page
To Previous Page IconTo Previous Page
To Previous Page IconTo Previous Page
Loading...
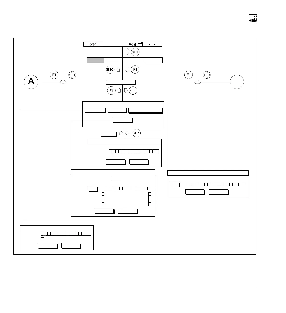
Menu structure
286 A0534-30.0 HBM: public MGCplus
CP
1 2 3 4 5 6 7 8 101112131415169
Param.set
Channel
OK Cancel
1 1 1
1
Load parameters
Automatically from disk
to the channels
123
Save/load settings
Factory settings ...
Load ...Save...
Copy
4 5 6 7 8 101112131415169
All
OK Cancel
Copy settings
Copy from channel:
1
All
Control input
Transducer
Signal conditioning
Limit switch
Load factory settings
AB
OK Cancel
1 2 3 4 5 6 7 8 101112131415169
CP
All
Peak values
Display
Analog outputs
Display Amplifier OptionsSystem
or
B
Save/load
CP
1 2 3 4 5 6 7 8 101112131415169
Param.set
Channel
OK Cancel
1 1 1
1
Save parameters
OK
or

Table of Contents

Related product manuals