EasyManua.ls Logo

Moog ACV Series - Figure 109: State Feedback Axis Velocity and Acceleration Derivative Element; Figure 110: State Feedback Axis Velocity Proportional Gain; Object 0 X5507: Acceleration Feed Forward Proportional Gain; Object 0 X550 B: State Feedback Axis Velocity Proportional Gain

Moog ACV Series
364 pages
Print Icon
To Next Page IconTo Next Page
To Next Page IconTo Next Page
To Previous Page IconTo Previous Page
To Previous Page IconTo Previous Page
Loading...
Moog ACV with CANopen bus interface 7 Servo valve functions
Axis position controller
B99224-DV018-D-211, Rev. A, October 2018 204
7.8.20.1 Object 0x5507: Acceleration feed forward proportional gain
This parameter contains the velocity feed forward gain.
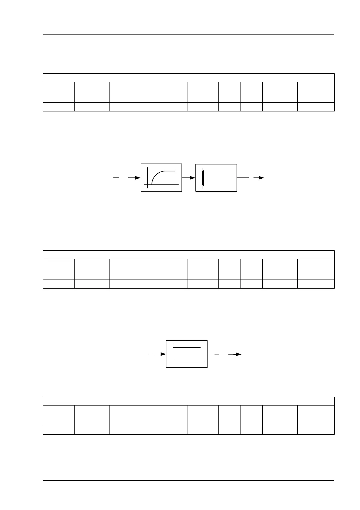
7.8.21 State feedback axis velocity and acceleration derivative elements
To realize a state space controller, the first derivation of the axis position values is necessary. To get a better
signal, the axis position value is filtered with a first order lag element.
Figure 109: State feedback axis velocity and acceleration derivative element
7.8.21.1 Object 0x550C: Actual value filter time constant
This parameter sets the time constant in seconds of the first order lag filter (PT1).
7.8.21.2 Object 0x550B: State feedback axis velocity proportional gain
The first derivation of the axis position value multiplied with this gain will be added to the other parts of the
controller.
Figure 110: State feedback axis velocity proportional gain
DrivePositionControl
Index Sub-index Parameter name Data type Access
Per-
sis-
tence Value range Default
0x5507 1 ProportionalGainKa FLOAT32 rw Y FLOAT32 0.0
<PosActualValue1>
(0x6601)
#VelFeedBack#
<PosActualFilterTimeConstant>
(0x550C)
DrivePositionControl
Index Sub-index Parameter name Data type Access
Per-
sis-
tence Value range Default
0x550C 1 PosActualFilterTimeConstant FLOAT32 rw Y 0.0…+inf 0.0
<ProportionalFeedBackGainKv>
(0x550B)
#VelFeedBack#
<VelFeedBackOutput>
(0x5530)
DrivePositionControl
Index Sub-index Parameter name Data type Access
Per-
sis-
tence Value range Default
0x550B 1 ProportionalFeedBackGainKv FLOAT32 rw Y FLOAT32 0.0

Table of Contents

Related product manuals