EasyManua.ls Logo

NANOTEC PD4-C - Page 67

Default Icon
256 pages
Print Icon
To Next Page IconTo Next Page
To Next Page IconTo Next Page
To Previous Page IconTo Previous Page
To Previous Page IconTo Previous Page
Loading...
6 Operating modes
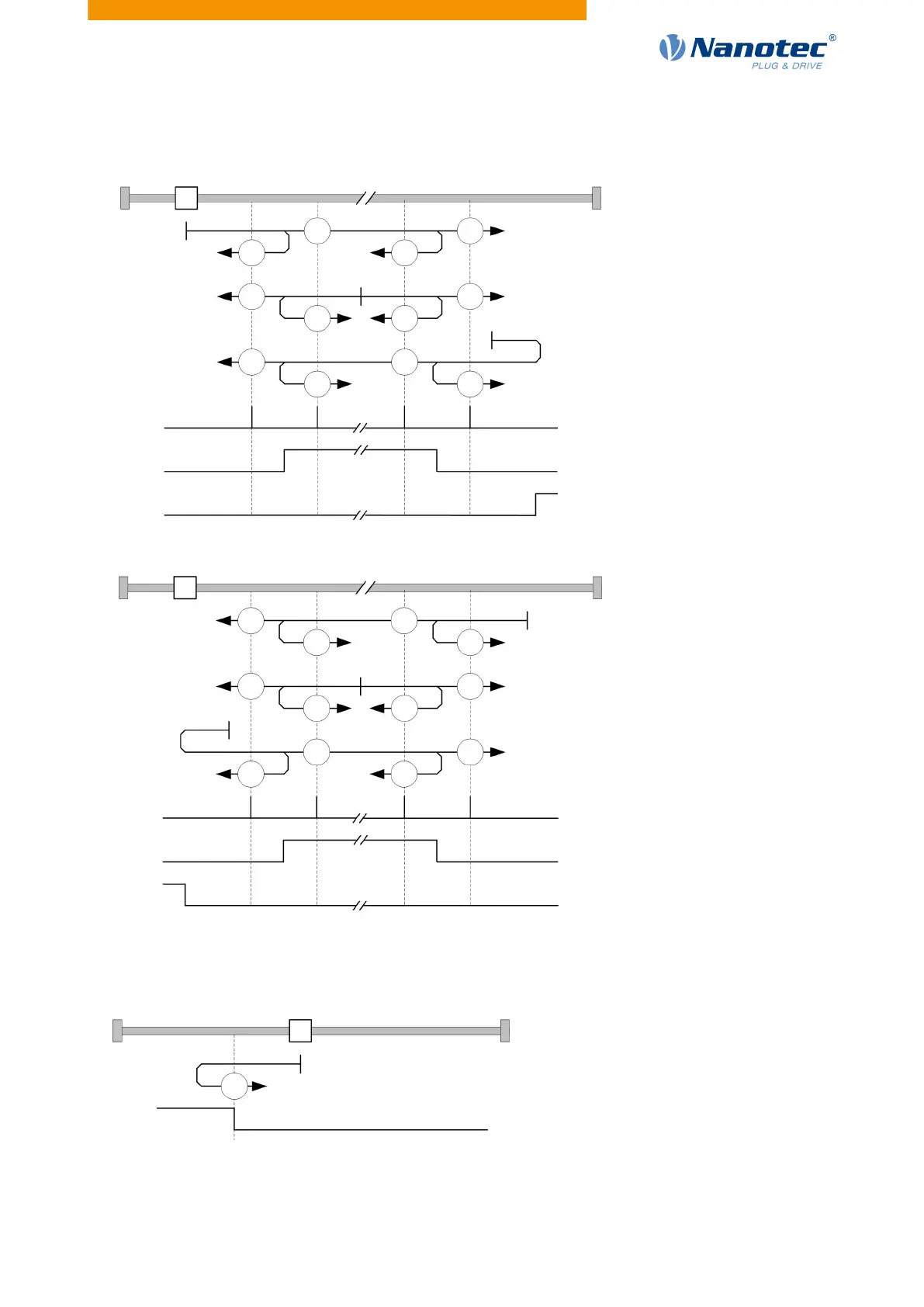
With these methods, the current position relative to the home switch is not important. With method 10, for
example, referencing is always performed to the index pulse to the right of the right edge of the home switch.
Methods 7 to 10 take the positive limit switch into account:
Index pulse
8
7 9
9
9
7
8
8
7
10
10
10
Reference
switch
Positive
limit switch
Methods 11 to 14 take the negative limit switch into account:
Index pulse
11
12
12
12
13
13
13
14
14
14
11
11
Reference
switch
Negative
limit switch
6.5.3.7 Methods 17 and 18
Reference to the limit switch without the index pulse.
Method 17 references to the negative limit switch:
17
Negative
limit switch
Method 18 references to the positive limit switch:
Version: 2.0.1 / FIR-v1650 67

Table of Contents