EasyManua.ls Logo

Hiwin D1 - Page 56

Hiwin D1
307 pages
Print Icon
To Next Page IconTo Next Page
To Next Page IconTo Next Page
To Previous Page IconTo Previous Page
To Previous Page IconTo Previous Page
Loading...
Wiring D1 Servo Drive User Manual
4-14 HIWIN MIKROSYSTEM CORP.
MD20UE01-2109
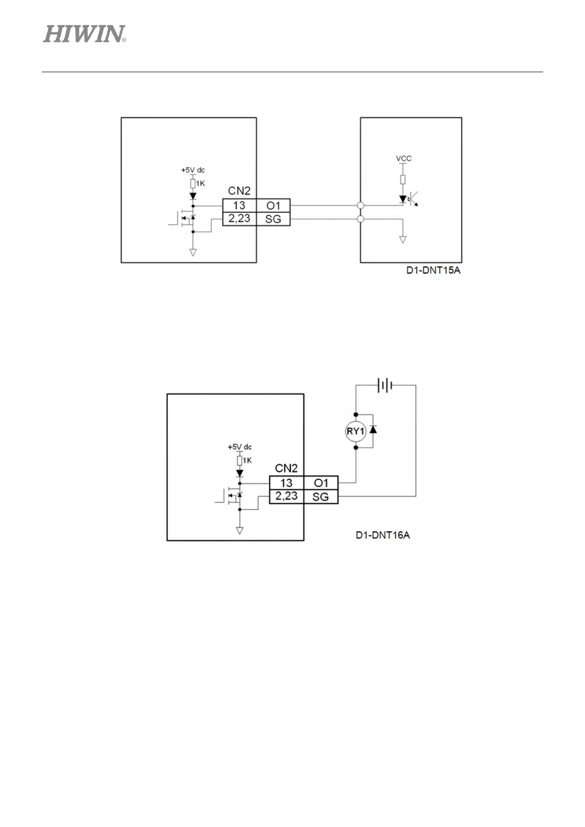
(1) The wiring example for connecting to controller
Figure4.7.2.2
(2) The wiring example for connecting to relay
When a relay is used, please also connect a diode with the relay, please refer to the figure below.
Ensure the direction of the diode is correct to avoid damage to the servo drive.
Figure4.7.2.3
mega-fabs
D1 series servo drive
Controller
mega-fabs
D1 series servo drive
External
DC
power

Table of Contents

Related product manuals