EasyManua.ls Logo

MacDon FlexDraper FD140 - Adjusting Hold-Down at Double-Knife Center Pointed Guard

MacDon FlexDraper FD140
628 pages
Print Icon
To Next Page IconTo Next Page
To Next Page IconTo Next Page
To Previous Page IconTo Previous Page
To Previous Page IconTo Previous Page
Loading...
214683 449 Revision A
1009510
A
B
C
D
E
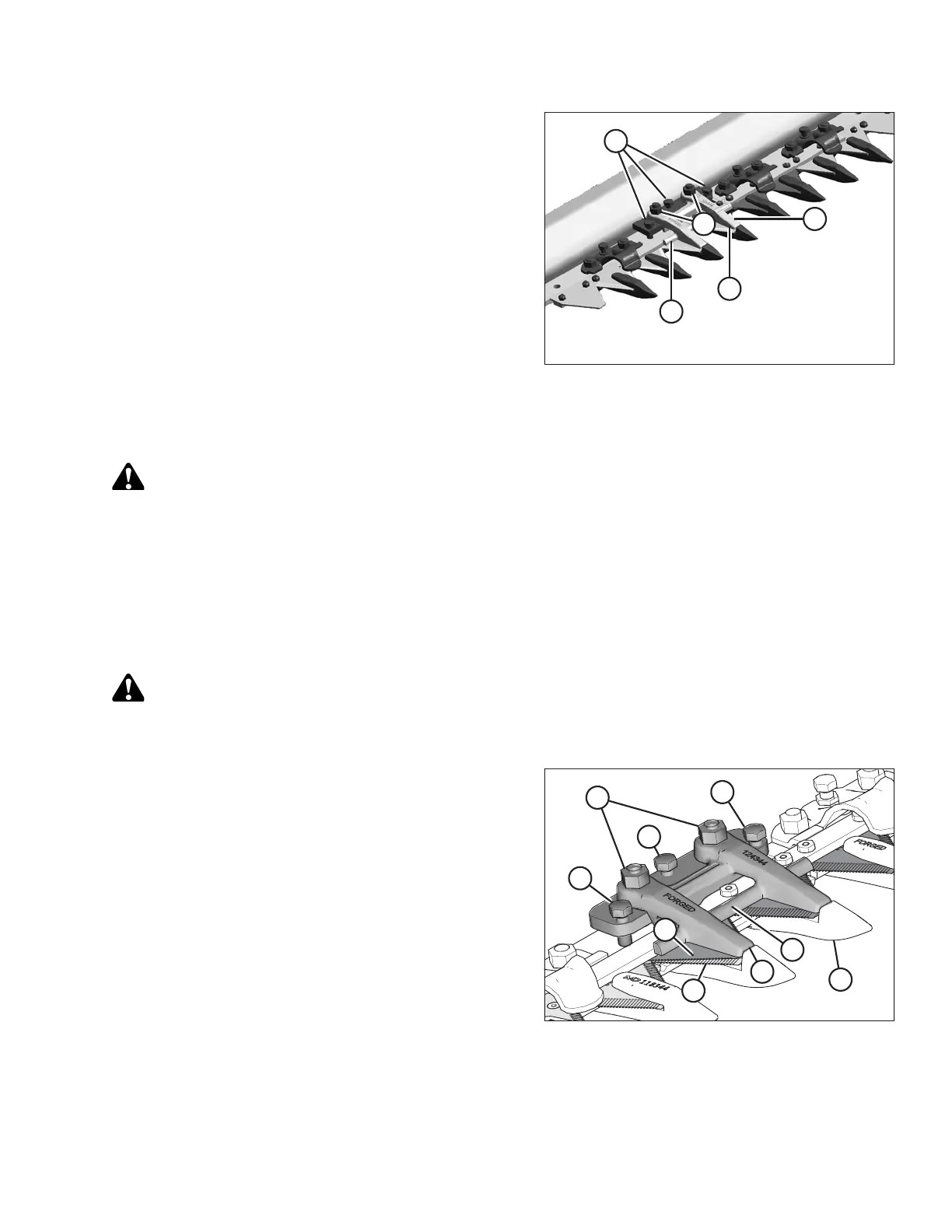
Figure 5.106: Center Guard Hold-Down
4. Use a feeler gauge to measure the clearance between
the center guard hold-down (A) and the knife section.
Ensure the clearance is between the following
measurements:
At guide tip (B): 0.10.4 mm (0.0040.016 in.)
At rear of guide (C): 0.11.0 mm (0.004 0.040 in.)
5. Adjust the clearance as follows:
a. Tighten nuts (D) until finger tight.
b. Turn the three adjuster bolts (E) clockwise to raise
the front of the hold-down and increase clearance,
or counterclockwise to lower the front of the
hold-down and decrease clearance.
c. When all the adjustments are complete and the
specified clearances are achieved, torque nuts (D)
to 88 Nm (65 lbfft).
WARNING
Check to be sure all bystanders have cleared the area.
6. Complete the hold-down adjustments, run the header at low engine speed, and listen for noise caused by
insufficient clearance.
NOTE:
Insufficient hold-down clearance will result in overheating of the knife and guardsreadjust as necessary.
Adjusting Hold-Down at Double-Knife Center Pointed Guard
WARNING
To avoid bodily injury or death from unexpected startup of machine, always stop engine and remove key
before adjusting machine.
1023234
A
B
C
D
D
E
D
F
A
Figure 5.107: Center Guard
1. Shut down combine, and remove key from ignition.
2. Manually stroke knives so that sections (A) are under
hold-down (B) as shown.
3. Loosen nuts (C) and back off bolts (D) until they dont
contact cutterbar.
4. Lightly clamp hold-down (B) to guard (E) with a C-clamp
or equivalent. Position clamp on trash bar at location (F)
as shown.
5. Turn bolts (D) until they contact cutterbar, then tighten
ONE turn.
6. Remove clamp.
7. Tighten nuts (C) and torque to 45 Nm (35 lbf·ft).
8. Check clearances. Refer to Checking Pointed Guard
Hold-Downs, page 447.
MAINTENANCE AND SERVICING

Table of Contents

Related product manuals