EasyManua.ls Logo

Xerox VersaLink B7035 - 5.70 Sensor Bracket

Xerox VersaLink B7035
1341 pages
Print Icon
To Next Page IconTo Next Page
To Next Page IconTo Next Page
To Previous Page IconTo Previous Page
To Previous Page IconTo Previous Page
Loading...
April 2017
5-22
Xerox® VersaLink® B7025/B7030/B7035 Multifunction Printer
PL 5.70
Launch Issue
Parts Lists
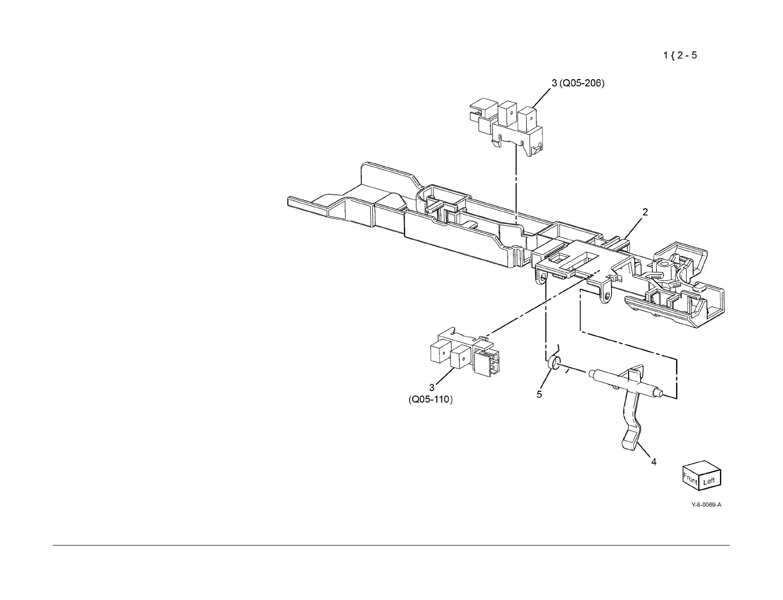
PL 5.70 Sensor Bracket
Item Part Description
1 Registration sensor bracket
assembly (Not Spared)
2 Bracket (P/O PL 5.70 Item 1)
3 930W00121 Registration sensor (Q05-110)/pre-
registration sensor (Q05-206)
4 Actuator (P/O PL 5.70 Item 1)
5 Torsion spring (P/O PL 5.70 Item 1)

Table of Contents

Other manuals for Xerox VersaLink B7035

Related product manuals