EasyManua.ls Logo

Xerox VersaLink B7035 - 12.10 Integrated Office Finisher Base Assembly (1 of 5)

Xerox VersaLink B7035
1341 pages
Print Icon
To Next Page IconTo Next Page
To Next Page IconTo Next Page
To Previous Page IconTo Previous Page
To Previous Page IconTo Previous Page
Loading...
April 2017
5-31
Xerox® VersaLink® B7025/B7030/B7035 Multifunction Printer
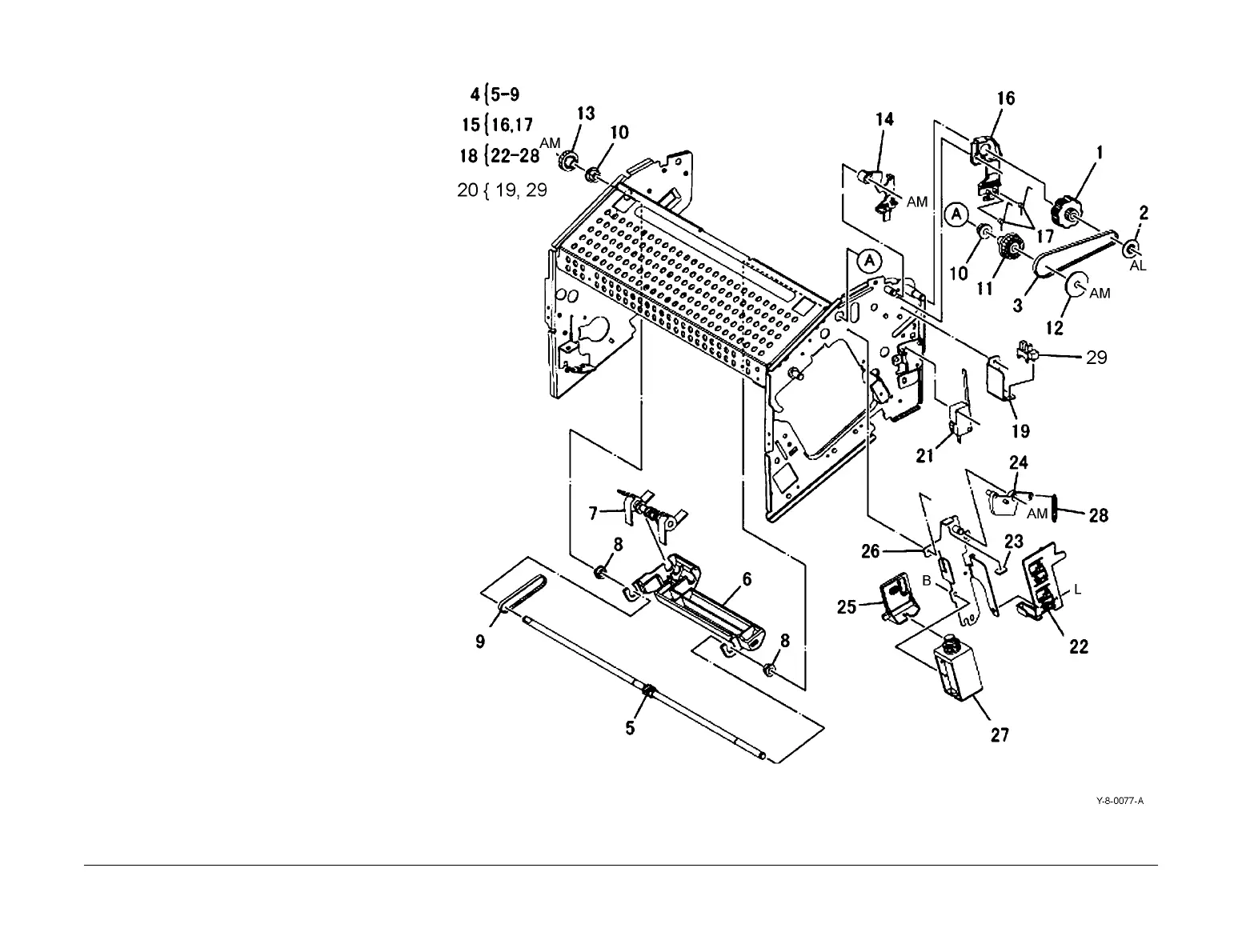
PL 12.10
Parts Lists
Launch Issue
PL 12.10 Integrated Office Finisher
Base Assembly (1 of 5)
Item Part Description
1 Pulley knob (Not Spared)
2 Collar (Not Spared)
3 Front paddle belt (Not Spared)
(REP 12.2)
4 012K96371 Link shaft assembly
5 Link shaft (P/O PL 12.10 Item 4)
6 Support (P/O PL 12.10 Item 4)
7 Sub paddle shaft assembly (P/O PL
12.10 Item 4)
8 Bearing (P/O PL 12.10 Item 4)
9 Front paddle belt (P/O PL 12.10
Item 4) (REP 12.2)
10 Bearing (Not Spared)
11 Pulley (Not Spared)
12 Collar (Not Spared)
13 Gear (21T) (Not Spared)
14 Actuator (Not Spared)
15 Knob cover assembly (Not Spared)
16 Knob Cover (P/O PL 12.10 Item 15)
17 Spring (P/O PL 12.10 Item 15)
18 Sub paddle solenoid assembly (Not
Spared)
19 Bracket (P/O PL 12.10 Item 20)
20 068K30000 Finisher top cover interlock sensor
assembly
21 Finisher top cover interlock (Not
Spared)
22 Support (P/O PL 12.10 Item 18)
23 Cushion (P/O PL 12.10 Item 18)
24 Link (P/O PL 12.10 Item 18)
25 Arm (P/O PL 12.10 Item 18)
26 Bracket (P/O PL 12.10 Item 18)
27 121K34620 Sub paddle solenoid (SOL12-013)
(REP 12.3)
28 Spring (P/O PL 12.10 Item 18)
29 Finisher top cover interlock sensor
(P/O PL 12.10 Item 20)

Table of Contents

Other manuals for Xerox VersaLink B7035

Related product manuals