EasyManua.ls Logo

HP 8560A - Assembly Locations

HP 8560A
450 pages
Print Icon
To Next Page IconTo Next Page
To Next Page IconTo Next Page
To Previous Page IconTo Previous Page
To Previous Page IconTo Previous Page
Loading...
Procedure 8. A7 through Al3 Assemblies
w44
w39 W3
A7
W38
FL1
W56
w45
w47
(OPTION
002)
FL2
w33
W46
(oPTIor\I
002)
w43
(OPT
10~
002 )
w57
Al3
w35
WI0
WI6
A10
(OPTION
002)
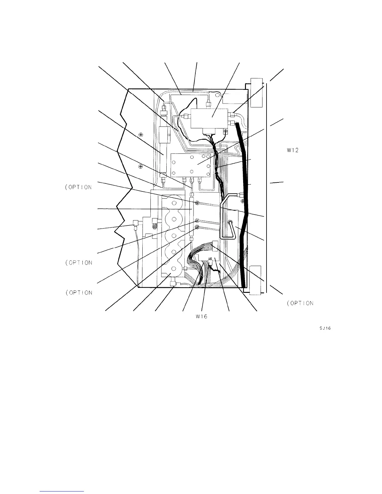
Figure 3-14. Assembly Locations
\
\
?I
\
Al
w42
/
(STANDARD)
l A8
/
,
WI2
-
w34
------- w41
A9
\
w14
(OPTION
002)
SJ16
3-26 Assembly Replacement

Table of Contents

Related product manuals