EasyManua.ls Logo

HP 8560A - Al4 and Al5 Test Connectors; Troubleshooting Using the TAM; YTO Frequency in TEST Position

HP 8560A
450 pages
Print Icon
To Next Page IconTo Next Page
To Next Page IconTo Next Page
To Previous Page IconTo Previous Page
To Previous Page IconTo Previous Page
Loading...
n To display the nominal YTO’s frequency, press (CAL), MORE, FREQ DIAGNOSE, LO FREQ .
Table 10-3. YTO Frequency in TEST Position
Roller Oscillator Frequency YTO Pretune Accuracy Nominal YTO Frequency
-104 to -93 MHz
+30/-10
MHz
LO Frequency +lO MHz
-93 to -73 MHz
f20
MHz
LO Frequency
-73 to -65 MHz
+lO/-30
MHz
LO frequency -10 MHz
65
to 73 MHz
+30/-10
MHz
LO Frequency +lO MHz
73
to 93 MHz
f20
MHz
LO Frequency
93 to 104 MHz
+lO/-30
MHz
LO Frequency -10 MHz
Troubleshooting Using the TAM
When using Automatic Fault Isolation, the TAM indicates suspected circuits that need to be
manually checked. Use Table
10-4
to locate the manual procedure.
Table
10-5
lists assembly test connectors associated with each Manual Probe Troubleshooting
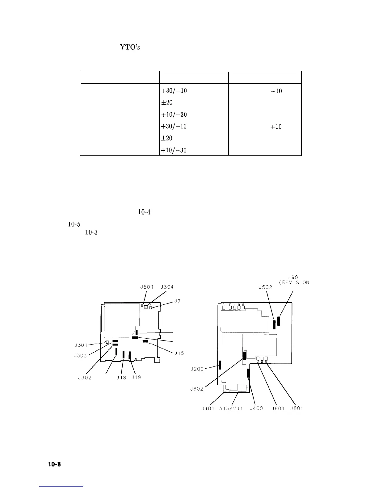
test. Figure
10-3
illustrates the location of Al4 and Al5 test connectors.
Al4
Al5
FREQUENCY RF
CONTROL
J901
3501
J304
37
J23
J17
J302
J 16
Ji8
Jj9
(REVISION
CONNECTOR)
SK1103
JZOO
3602
(REVISION
J5O2
CONNECTOR)
JlCil
A15d2Jl
J400
J$Ol
J801
Figure 10-3. Al4 and Al5 Test Connectors
10-8
Synthesizer Section

Table of Contents

Related product manuals