EasyManua.ls Logo

HP 8560A - 10. Frequency Response Adjustment; Frequency Response Adjustment Setup

HP 8560A
450 pages
Print Icon
To Next Page IconTo Next Page
To Next Page IconTo Next Page
To Previous Page IconTo Previous Page
To Previous Page IconTo Previous Page
Loading...
10. Frequency Response Adjustment
10. Frequency Response Adjustment
Assembly Adjusted
Al5 RF Assembly
Related Performance Tests
Displayed Average Noise Level
Frequency Response
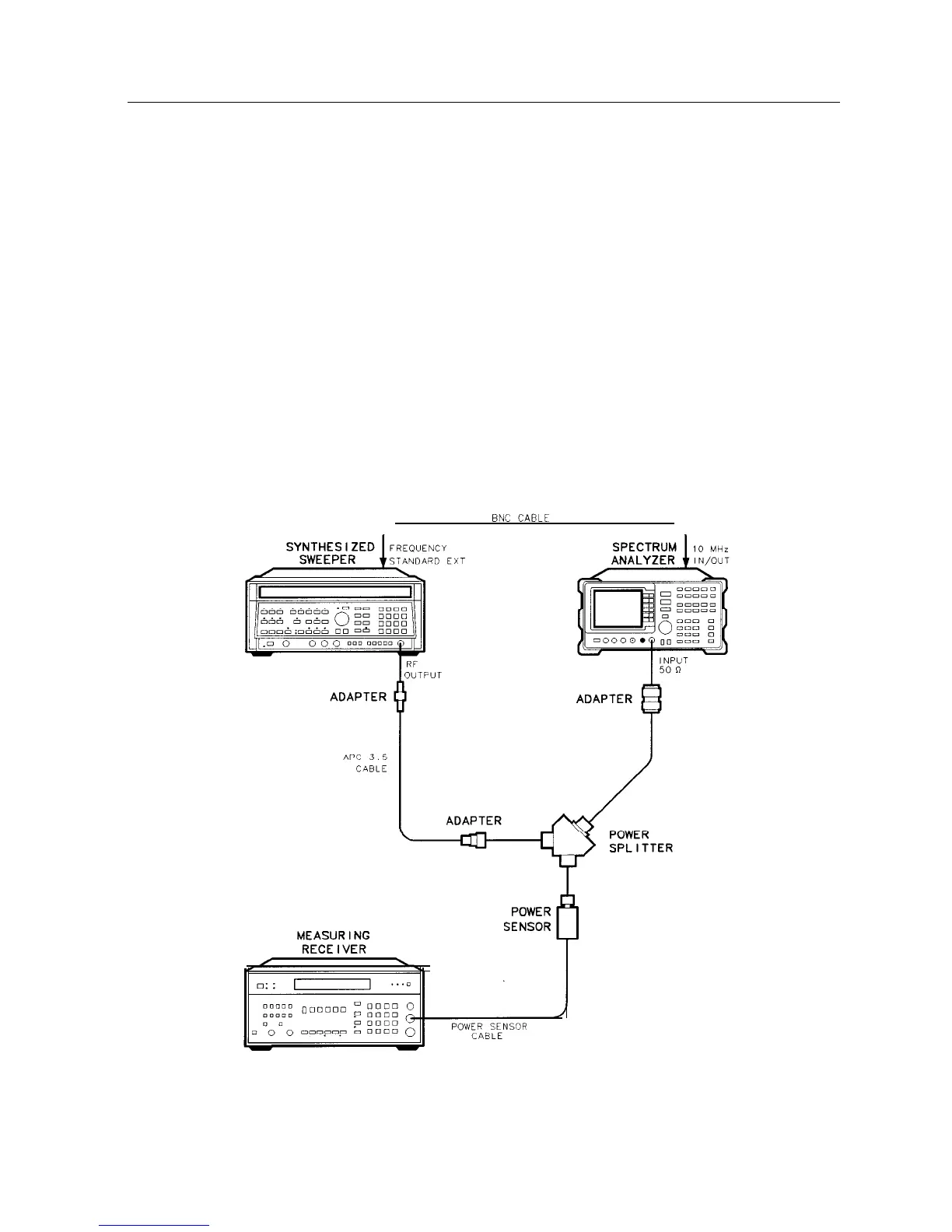
Description
A signal of the same known amplitude is applied to the spectrum analyzer at several different
frequencies. At each frequency, the DAC controlling the flatness compensation amplifiers
is adjusted to place the peak of the displayed signal at the same place on the screen. The
preselector is centered at each frequency before setting the DAC value. The DAC values are
stored in EEROM.
REF
SJ12
Figure 2-13. Frequency Response Adjustment Setup
Adjustment Procedures 2-45

Table of Contents

Related product manuals