EasyManua.ls Logo

HP 8560A - A4 LOG Amplifier;Cal Oscillator Assembly; IF Section; Phase Lock Loops; Roller Oscillator PLL (P;O A14)

HP 8560A
450 pages
Print Icon
To Next Page IconTo Next Page
To Next Page IconTo Next Page
To Previous Page IconTo Previous Page
To Previous Page IconTo Previous Page
Loading...
,-
YTO
PLL7
/ROLLER OSCILLATOR PLL
\
1ST
LO OUTPUT
3.0
-
6.81 GHz
I
YTO
I
I
I
AL
t
/
OFFSET LOCK
LOOP?
10
MHz TCXO
SK168
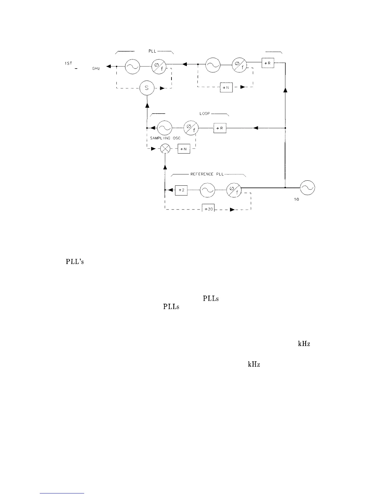
Figure 6-5. Phase Lock Loops
Roller Oscillator PLL (P/O A14)
This PLL’s output serves as the reference frequency for the YTO PLL. A one-to-one
relationship in frequency tracking exists between the Roller Oscillator PLL and the YTO.
(A change of 1 MHz in the Roller Oscillator PLL will produce a 1 MHz change in the YTO
frequency.)
The Roller Oscillator PLL actually contains three PLLs that collectively produce an output
of 63 MHz to 105.5 MHz. The three PLLs are the Main Roller PLL, Offset Roller PLL, and
Transfer Roller PLL.
The Offset Roller PLL tunes from 189 MHz to 204 MHz. Because the output of the PLL is
divided by 100, a one-hundred-to-one relationship exists between frequency changes in the
Offset Roller PLL and the YTO. The Offset Roller PLL can be synthesized in 2.5 kHz steps,
yielding an effective frequency resolution on the YTO of 25 Hz.
The Transfer Roller PLL tunes from 61 MHz to 103.5 MHz in 50 kHz steps.
IF Section
The IF Section processes the 10.7 MHz output of the RF Section and sends the detected video
to the ADC/Interface Section. The following major assemblies are included in this section:
A3 Interface assembly
A4 Log Amplifier/Cal Oscillator assembly
A5 IF assembly
General Troubleshooting 6-39

Table of Contents

Related product manuals