EasyManua.ls Logo

HP 8560A - Front End

HP 8560A
450 pages
Print Icon
To Next Page IconTo Next Page
To Next Page IconTo Next Page
To Previous Page IconTo Previous Page
To Previous Page IconTo Previous Page
Loading...
w44
w39
w3 A7
W38
FL1
W56
w45
w47
(OPT ION
002)
FL2
w33
W46
(OPT ION
002)
w43
(OPTION
002)
w57
Al3
w35
WI0
WI6
A10
/
/
\
3
\
Al 1
W42
/
(STANDARD)
,
WI2
-
w34
. w41
A3
\
WI4
(OPT
10~
002 )
(OPTION
002)
SJlll
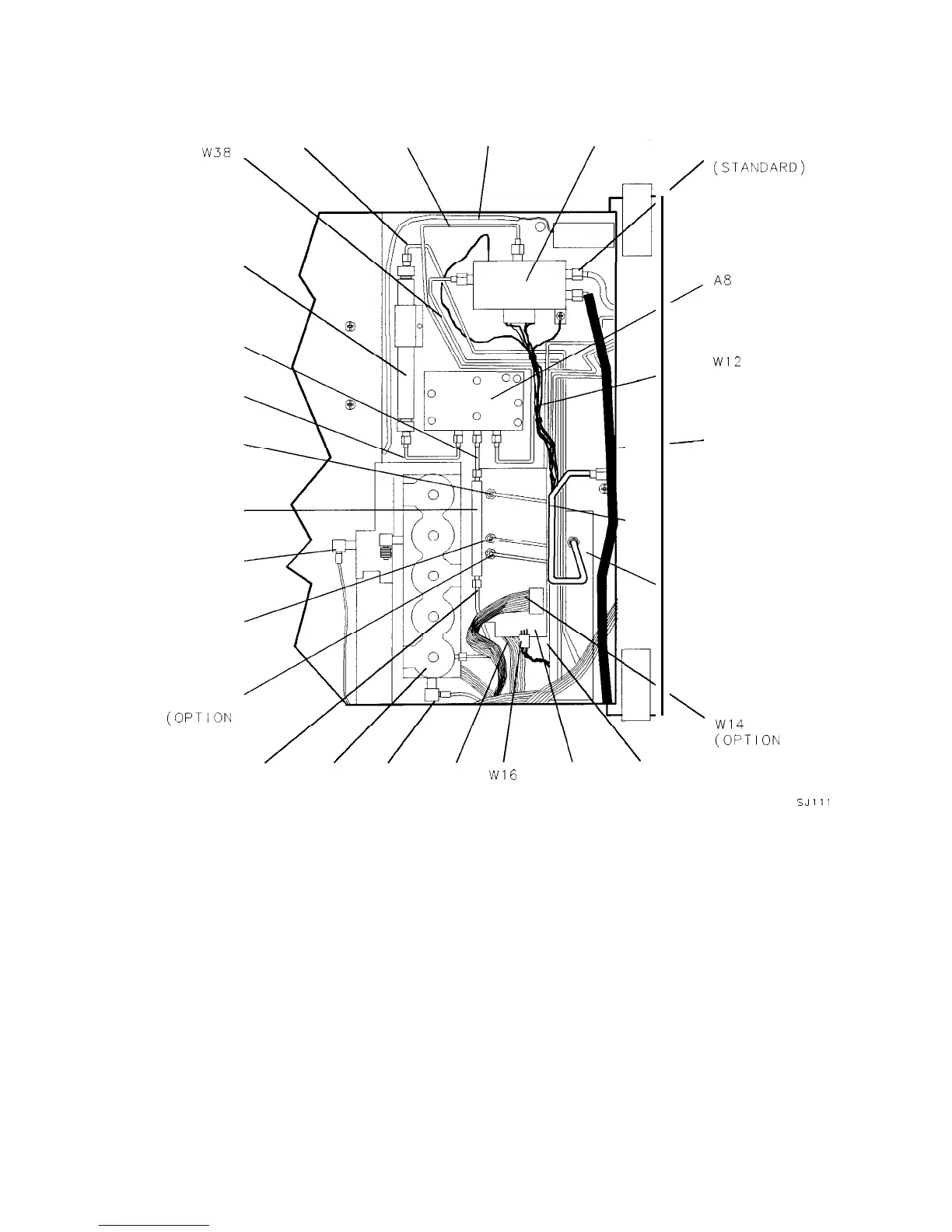
Figure 5-7. Front End
Major Assembly and Cable Locations
5-9

Table of Contents

Related product manuals