EasyManua.ls Logo

HP 8560A - Page 208

HP 8560A
450 pages
Print Icon
To Next Page IconTo Next Page
To Next Page IconTo Next Page
To Previous Page IconTo Previous Page
To Previous Page IconTo Previous Page
Loading...
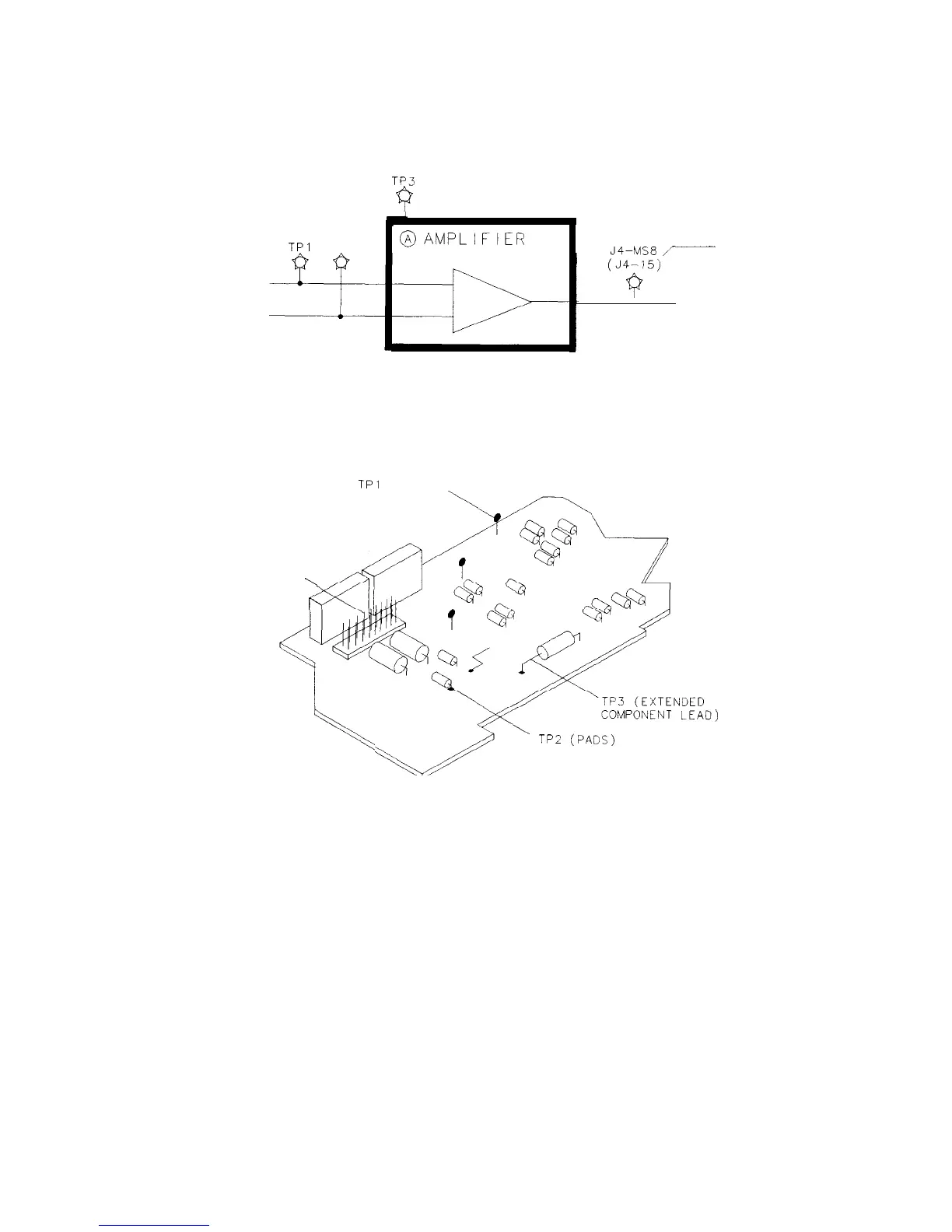
TEST POINTS ON BLOCK DIAGRAM
J4 (TEST
TP3
Q
TPI
TP2
@AMPLIFIER
JACK)
\
r:
J4-MS8
/---
(J4-15j
TEST POINTS ON CIRCUIT BOARD ASSEMBLY
TPI
(POST),
;_;::>
TP2
cpAD;;PONENT
LEAD)
Figure 8-1. Assembly Test Points
TEST JACK
PIN NAME
TEST JACK
PIN NUMBER
SK163
General Troubleshooting 6-3

Table of Contents

Related product manuals