EasyManua.ls Logo

Daedong DSC48 - LOW PRESSURE RELIEF VALVE; HIGH PRESSURE RELIEF VALVE

Daedong DSC48
290 pages
Print Icon
To Next Page IconTo Next Page
To Next Page IconTo Next Page
To Previous Page IconTo Previous Page
To Previous Page IconTo Previous Page
Loading...
6
-8
Apr. 2007
DSC48
D. HIGH PRESSURE RELIEF VALVE
It limits the maximum oil pressure (from the hydraulic pump
HMG) of the hydraulic circuit lifting the reaping unit.
417W610A
(1) Line lter
(2) Relief poppet
(3) Adjusting screw
(A) From hydraulic pump HMG
(B) To P port of direction control solenoid valve
(C) To oil tank
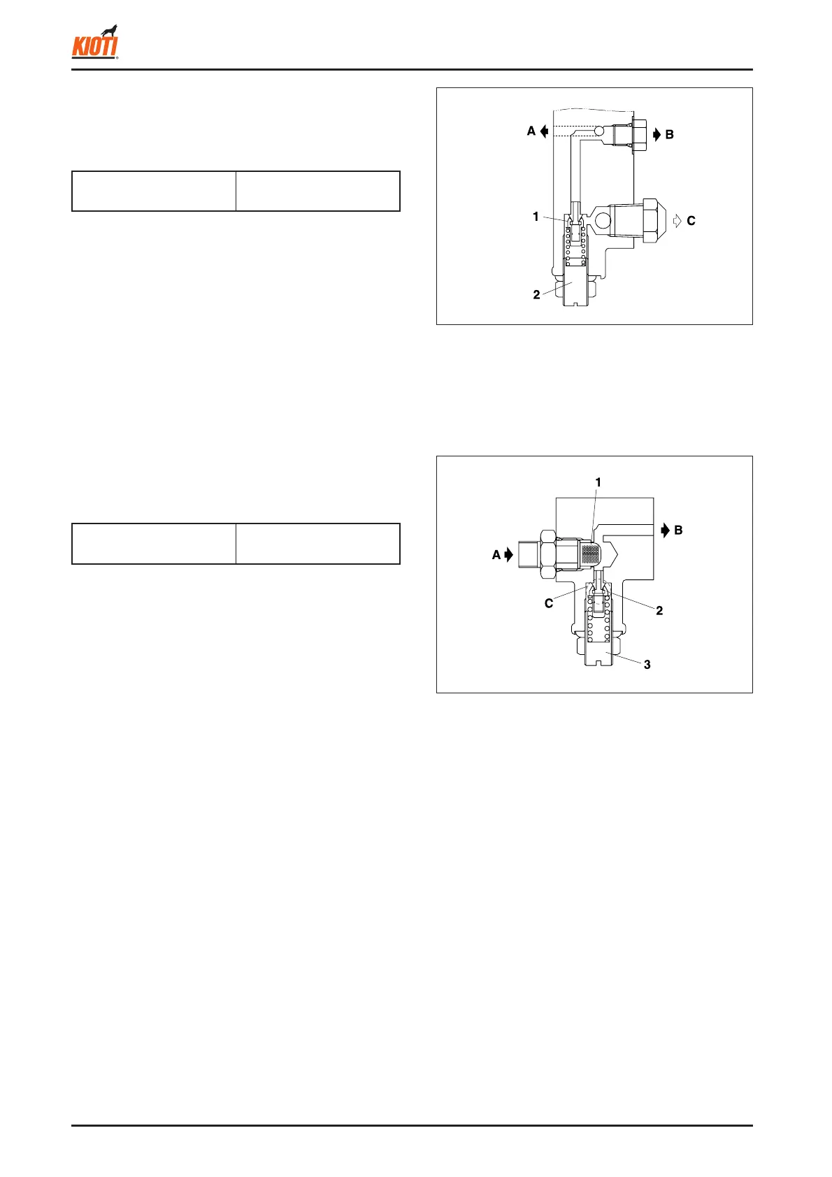
C. LOW PRESSURE RELIEF VALVE
It limits the maximum oil pressure (from the hydraulic pump
D) of the hydraulic circuit operating the right and left steer-
ing clutch cylinders.
417W609A
(1) Relief poppet
(2) Adjusting screw
(A) To P port of steering control solenoid
(B) From hydraulic pump D
(C) To oil tank
Set pressure of low pres-
sure relief valve
72 ~ 78 kgf/cm
2
Set pressure of high pres-
sure relief valve
149 ~ 161 kgf/cm
2

Table of Contents

Related product manuals