EasyManua.ls Logo

Daedong DSC48 - Fuel Injection Nozzle

Daedong DSC48
290 pages
Print Icon
To Next Page IconTo Next Page
To Next Page IconTo Next Page
To Previous Page IconTo Previous Page
To Previous Page IconTo Previous Page
Loading...
2
-16
Apr. 2007
DSC48
417W232A
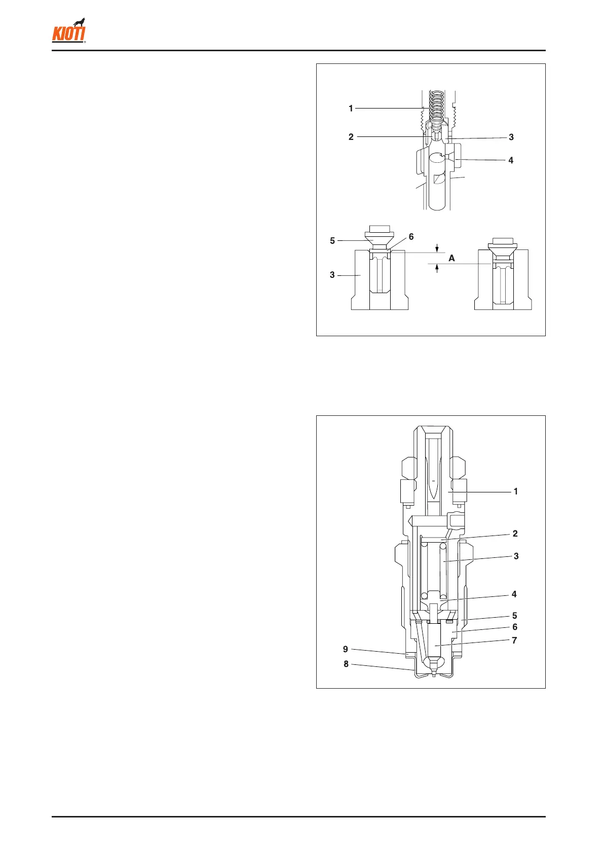
(1) Nozzle holder as-
sembly
(2) Adjusted shim
(3) Nozzle spring
(4) Push rod
(5) Retaining nut
(6) Nozzle body
(7) Nozzle valve
(8) Heat seal
(9) Packing
2.4.5 FUEL INJECTION NOZZLE
This nozzle is a throttle type. It features low fuel consump-
tion and works well with the KIOTI combustion chamber.
The nozzle valve opening pressure is 140~150 kgf/cm
2
.
When the fuel pressure overcomes the counterforce of the
nozzle valve spring, the nozzle valve is instantly pushed
up. Then, the fuel is injected in a proper quantity into the
swirling air in the combustion chamber for combustion.
Addition or reduction of adjusting shims can adjust the in-
jection pressure. A shim of 0.1 mm corresponds to approx.
10 kgf/cm
2
change in injection pressure.
417W231A
(1) Valve spring (4) Fuel chamber
(2) Valve (5) Valve face
(3) Valve seat (6) Relief plunger
D. DELIVERY VALVE
The delivery valve has the following functions:
(A) It prevents the fuel in the injection pipe from flowing
back into the delivery chamber.
(B) It prevent the fuel in the injection nozzle from dribbling
after injection.

Table of Contents

Related product manuals