EasyManua.ls Logo

Hioki 3166 - Page 331

Hioki 3166
380 pages
Print Icon
To Next Page IconTo Next Page
To Next Page IconTo Next Page
To Previous Page IconTo Previous Page
To Previous Page IconTo Previous Page
Loading...
309
────────────────────────────────────────────────────
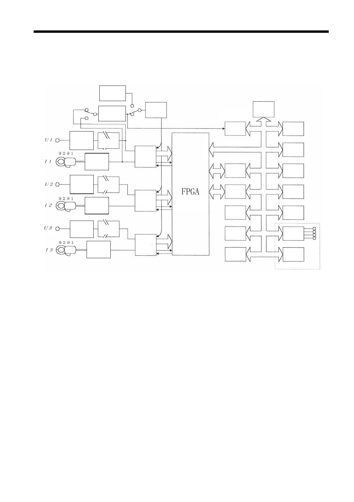
18.4 Internal Block Diagram
────────────────────────────────────────────────────
50/60 Hz
fixed clock
PL
L
Waveform
adjustment
Range
amplifier
Range
amplifier
Range
amplifier
Photo
-coupler
Range
amplifier
A/D
A/D
A/D
Range
amplifier
Photo
-coupler
Range
amplifier
Timing
control
Frequency
measurement
Dual port
RAM
External
control
Flash
ROM
Backup
SRAM
Work
DRAM
Ke
y
beep
Optional
Block Diagram
Photo
-coupler
KEY
RTC
RS-
2
32C
LCD
D/A
FD
CP
U
1
8.4 Internal Block Diagram
An internal block diagram of the 3166 is shown below.

Table of Contents