EasyManua.ls Logo

HP 8560A - Page 171

HP 8560A
450 pages
Print Icon
To Next Page IconTo Next Page
To Next Page IconTo Next Page
To Previous Page IconTo Previous Page
To Previous Page IconTo Previous Page
Loading...
Reference
Designation
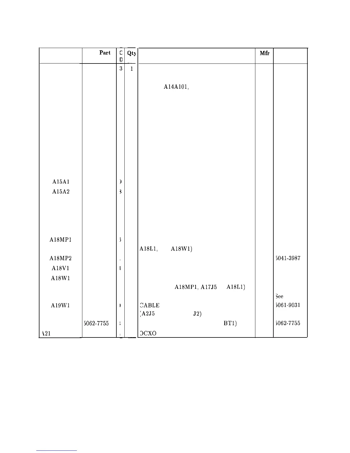
Al3
Al4
HP
Part
Number
5086-7812
See Tbl A-l
Al5
(Opt. 001)
(Opt. 002)
(Opt. 003)
(Opt. 012)
(Opt. 013)
(Opt. 023)
(Opt. 123)
A15Al
A15A2
Al6
Al7
A18
See Tbl A-l
See Tbl A-l
See Tbl A-l
See Tbl A-l
See Tbl A-l
See Tbl A-l
See Tbl A-l
See Tbl A-l
5086-7751
5086-7750
See Tbl A-l
See Tbl A-l
A18MPl
5062-7097
A18MP2
A18Vl
A18Wl
5041-3987
2090-0225
A19
See Tbl A-l
A19Wl
5061-9031
A20
5062-7755
121
(Opt. 003)
1813-0644
Table 4-4. Replaceable Parts (continued)
G
T
1
1
1
1
1
1
1
1
1
1
1
1
1
1
1
1
1
1
1
1
-
Description
SECOND CONVERTER
FREQUENCY CONTROL ASSEMBLY
(Includes A14A101, 102, and 103)
RF ASSEMBLY
RF ASSEMBLY
RF ASSEMBLY
RF ASSEMBLY
RF ASSEMBLY
RF ASSEMBLY
RF ASSEMBLY
RF ASSEMBLY
SECOND IF AMP
SAMPLER
CAL OSCILLATOR ASSEMBLY
CRT DRIVER ASSEMBLY
CRT ASSEMBLY
(Order by Individual Parts)
CRT WIRING ASSEM. (Includes Shield
A18L1, and
A18Wl)
SPACER, CRT
TUBE, CRT 6.7 IN
CABLE ASSEMBLY, TWO WIRE, TRACE
ALIGN (P/O A18MP1, A17J5 to
A18Ll)
HP-IB ASSEMBLY
SABLE
ASSEMBLY, RIBBON, HP-IB
IA2J5 to Rear Panel
J2)
BATTERY ASSY (Includes W6,
BTl)
XX0
10.0 MHz
Mti Mfr Part
Code
Number
28480
5086-7812
28480
See Tbl A-l
28480
See Tbl A-l
28480
See Tbl A-l
28480
See Tbl A-l
28480
See Tbl A-l
28480
See Tbl A-l
28480
See Tbl A-l
28480
See Tbl A-l
28480
See Tbl A-l
28480 5086-7751
28480
5086-7750
28480
See Tbl A-l
28480
See Tbl A-l
28480 5062-7097
28480 5041-3987
28480 2090-0225
28480
see
Tbl A-l
28480
iO61-9031
28480
jO62-7755
28480
1813-0644
Replaceable Parts 4-13

Table of Contents

Related product manuals