EasyManua.ls Logo

HP 8560A - Page 172

HP 8560A
450 pages
Print Icon
To Next Page IconTo Next Page
To Next Page IconTo Next Page
To Previous Page IconTo Previous Page
To Previous Page IconTo Previous Page
Loading...
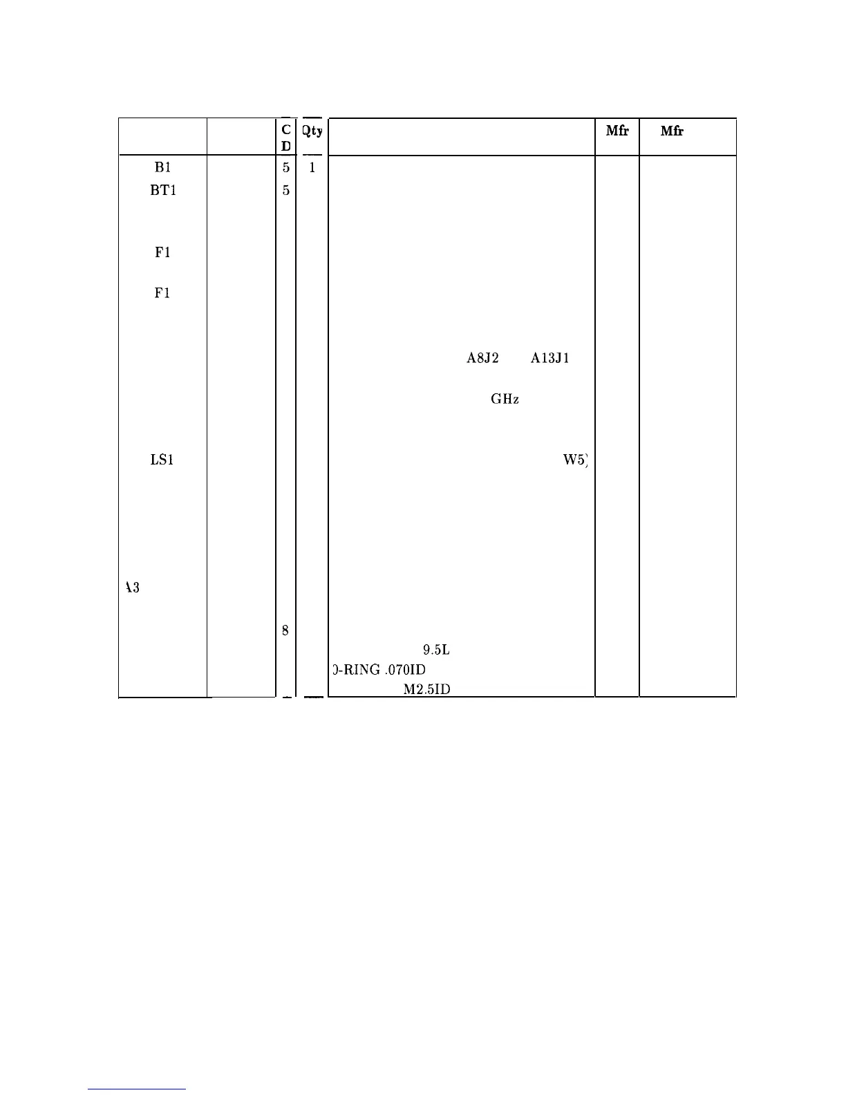
Table 4-4. Replaceable Parts (continued)
3
Fl
21 lo-0756
0
FL1
0955-0420
3
FL2
0135-0307
6
1
1
9
7
8
8
9
2
9
-
iG
r
1
1
1
1
1
1
1
1
1
1
2
10
12
12
-
Description
FAN ASSEMBLY (Includes Wire)
BATTERY 3.0 V 1.2 A-HR LITHIUM
POLYCARBON MONOFLORIDE;
BUTTON TERMINATIONS
THIONYL FUSE 5A 250V NTD FE IEC
(230 VAC Operation)
FUSE 5A 125V NTD UL
(115 VAC Operation)
LOW PASS FILTER
LOW PASS FILTER, A8J2 TO
A13Jl
(SERIAL PREFIX 3029A and BELOW)
LOW PASS FILTER, 4.4 GHz
(SERIAL PREFIX 3031A and ABOVE)
LINE FILTER ASSEMBLY
LOUDSPEAKER 2.5 IN SQ (Part of W5:
CHASSIS MECHANICAL PARTS
(See Figures 4-l through 4-6 for a
complete listing of mechanical
chassis parts.)
ASSEMBLY SHIELDS
PEAK DETECTOR (TOP)
28480
5021-6723
PEAK DETECTOR (BOTTOM)
28480
5021-6723
SCREW M2.5 14L
28480
0515-2080
SCREW M2.5 9.5L
28480
0515-1486
j-RING
.070ID
28480
0905-0375
WSHR LK M2.5ID
28480
2190-0583
Reference
Designation
Bl
BTl
HP Part
Number
5061-9036
1420-0341
Fl
2110-0709
FL2
0955-0519
FL3
5061-9032
LSl
9160-0282
13
Assembly
5021-6723
5021-6724
0515-2080
0515-1486
0905-0375
2190-0583
Mfr
Code
28480
08709
Mfr
Part
Number
5083-9036
BR 213 A 55P
16428
GDA-5
28480
2110-0756
28480 0955-042
28480 9135-0307
28480
0955-0519
28480
5061-9032
28480
9160-0282
4-14 Replaceable Parts

Table of Contents

Related product manuals