EasyManua.ls Logo

MacDon R113 - Closing Driveshields

MacDon R113
294 pages
Print Icon
To Next Page IconTo Next Page
To Next Page IconTo Next Page
To Previous Page IconTo Previous Page
To Previous Page IconTo Previous Page
Loading...
OPERATION
3. Pull top of driveshield (A) a way from mower conditioner
to open.
NOTE:
For improved acces s, lift driveshield off the pins
at th e base of the s hield, and la y the shield on
the mower conditioner.
Figure 3.7: Driveshield
3.2.2 Closing Driveshields
CAUTION
Do NOT operate the machine without the driveshields in place and secured.
NOTE:
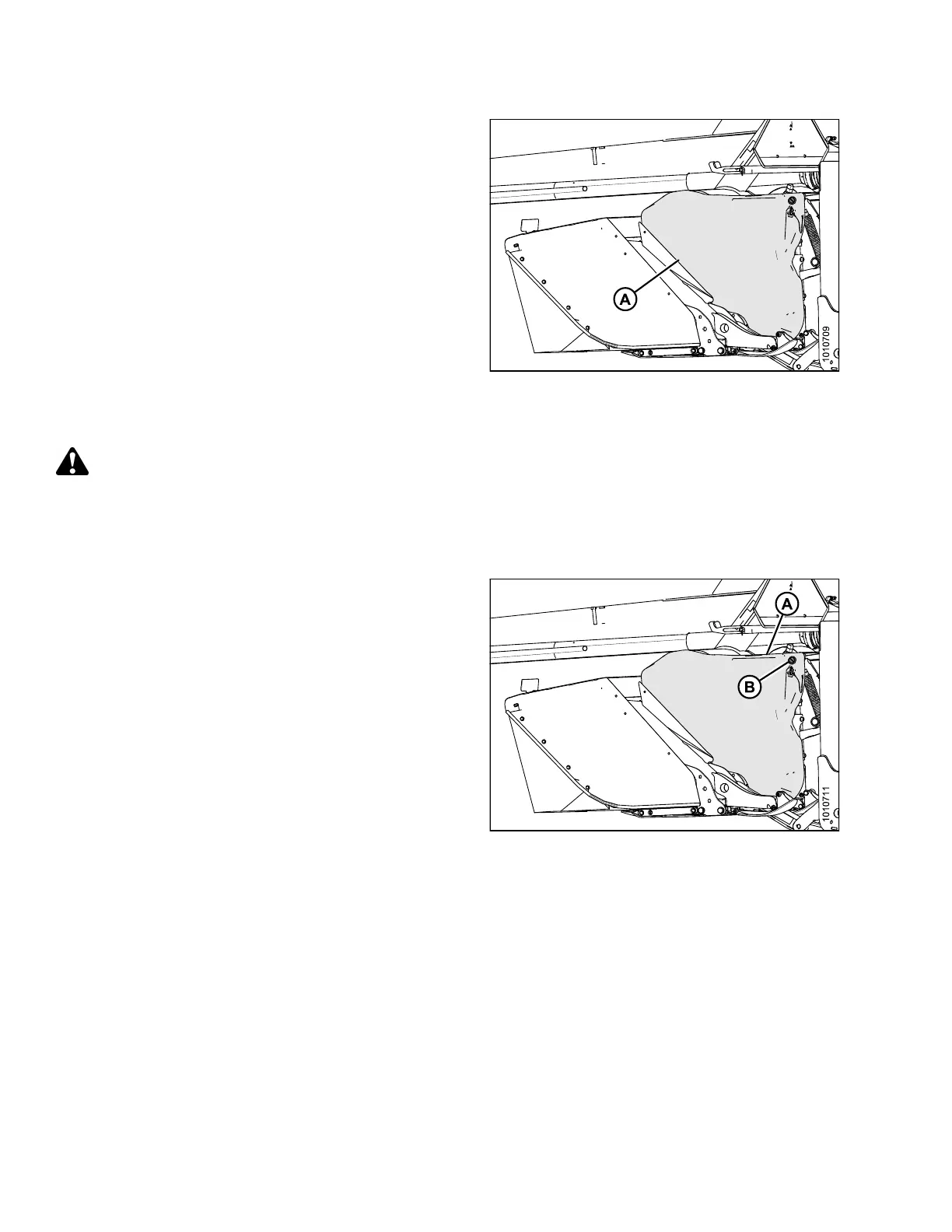
Images shown are for left side driveshield—right side driveshield is similar.
1. Position driveshield onto pins at base of driveshield
(if necessary).
2. Push driveshield (A) to engage latch (B).
3. Check that driveshield is properly secure d.
Figure 3.8: Driveshield and Latch
147910 34 Revision A

Table of Contents

Other manuals for MacDon R113

Related product manuals