EasyManua.ls Logo

Mazda Mazda6 - Neutral Switch Inspection

Mazda Mazda6
909 pages
Print Icon
To Next Page IconTo Next Page
To Next Page IconTo Next Page
To Previous Page IconTo Previous Page
To Previous Page IconTo Previous Page
Loading...
CONTROL SYSTEM
F269
F2
NEUTRAL SWITCH INSPECTION
A6E404017640201
Note
Perform the following test only when directed.
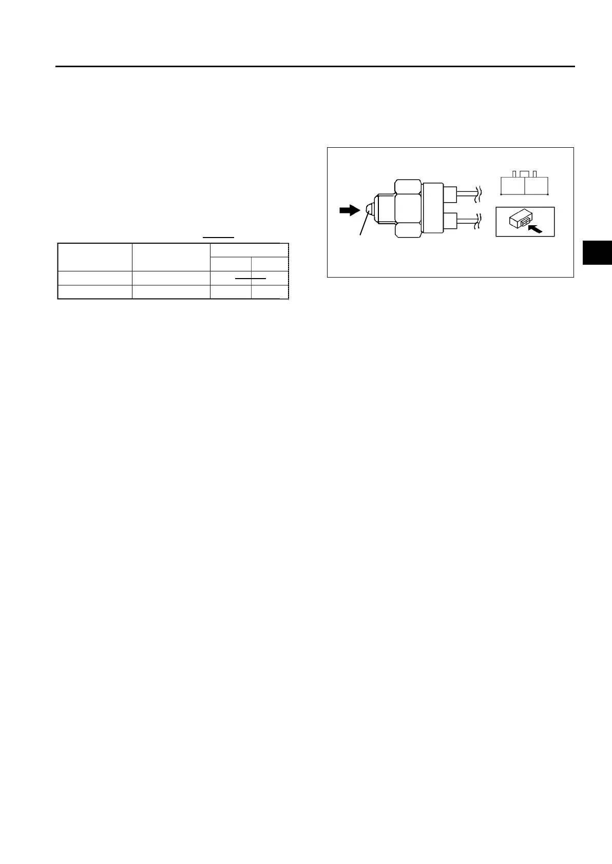
Continuity Inspection
1. Inspect for continuity between the neutral switch
terminals using an ohmmeter.
If the neutral switch is okay, but the CPP/PNP
PID is out of specification, perform the Circuit
Open/Short Inspection
If not as specified, replace the neutral switch.
Specification
Circuit Open/Short Inspection
1. Inspect for open/short circuit in the following wiring harnesses.
If there is open/short circuit, repair or replace wiring harnesses.
Open circuit
Signal circuit
Neutral switch terminal A and PCM terminal 56
GND circuit
Neutral switch terminal B and GND
Short circuit
Signal circuit
Neutral switch terminal A and PCM terminal 56 to GND
End Of Sie
PUSH
ROD
B
A
A6E40702036
Condition
Transmission
Terminal
O
O
: Continuity
A
B
Rod pushed
Except above
In neutral
Other
O
O
A6E40702035

Table of Contents

Related product manuals