EasyManua.ls Logo

Daedong DSC48 - Page 68

Daedong DSC48
290 pages
Print Icon
To Next Page IconTo Next Page
To Next Page IconTo Next Page
To Previous Page IconTo Previous Page
To Previous Page IconTo Previous Page
Loading...
1
-30
Apr. 2007
DSC48
417W177A
417W178A
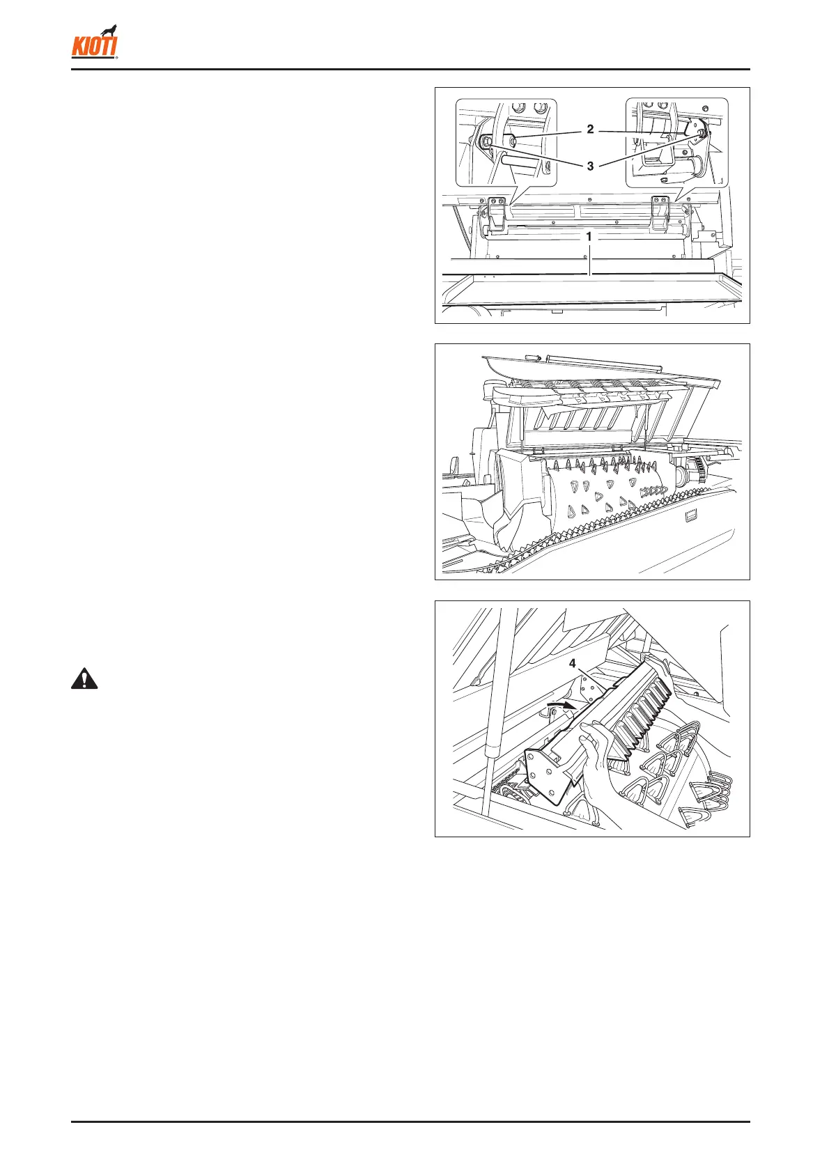
B. REPLACING STRAW CHOPPER BLADE
• Detachment
1. Open the threshing chamber cover.
2. Disengage the blade lock pin and remove the bolt.
3. Open the threshing cylinder.
Be careful with your safety when attaching or detaching
the blade support.
CAUTION
417W179A
(1) Threshing chamber cover
(2) Blade support mounting plate
(3) Bolt
(4) Cutting blade support
4. Remove the blade support.
5. Unscrew the straw chopper blade bolts and nuts to de-
tach the straw chopper blade.

Table of Contents

Related product manuals