EasyManua.ls Logo

ICON A5 - System Wiring Diagram, Engine Interface

ICON A5
836 pages
Print Icon
To Next Page IconTo Next Page
To Next Page IconTo Next Page
To Previous Page IconTo Previous Page
To Previous Page IconTo Previous Page
Loading...
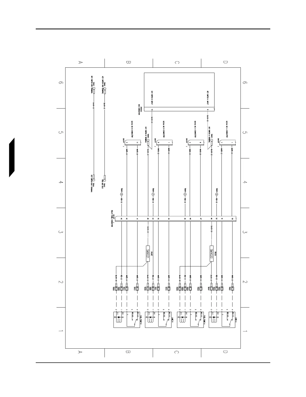
6-8 ELECTRICAL SYSTEM / ELECTRICAL SYSTEM WIRING DIAGRAMS
ICON A5 / MAINTENANCE MANUAL CHANGE C2
CHAPTER 6
6.2.4 System Wiring Diagram, Engine Interface

Table of Contents

Other manuals for ICON A5