EasyManua.ls Logo

ICON A5 - System Wiring Diagram, Fuel

ICON A5
836 pages
Print Icon
To Next Page IconTo Next Page
To Next Page IconTo Next Page
To Previous Page IconTo Previous Page
To Previous Page IconTo Previous Page
Loading...
ELECTRICAL SYSTEM / ELECTRICAL SYSTEM WIRING DIAGRAMS 6-15
CHANGE C2 ICON A5 / MAINTENANCE MANUAL
CHAPTER 6
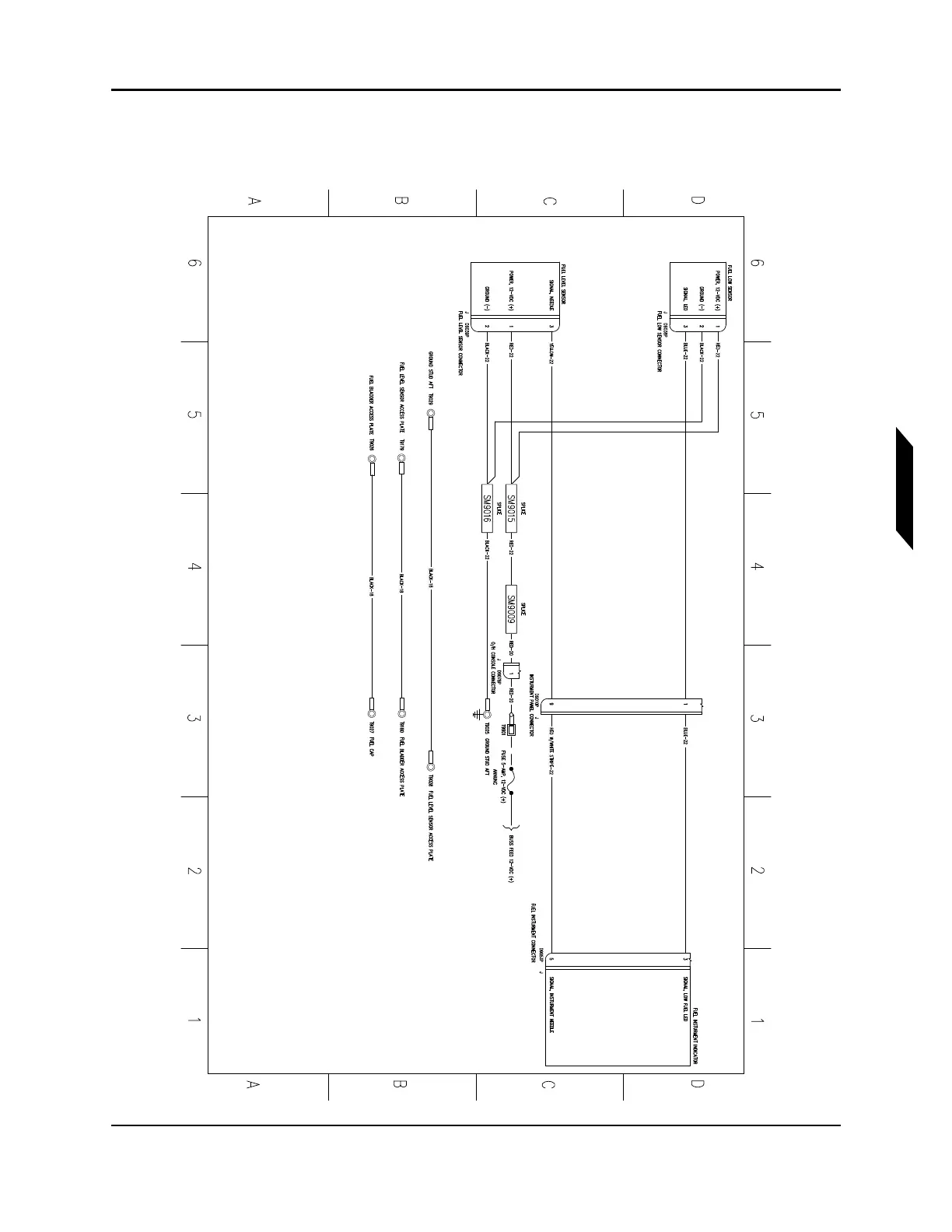
6.2.7 System Wiring Diagram, Fuel

Table of Contents

Other manuals for ICON A5